.png)

跟随深沪A股大幅反弹,北交所股票今天也纷纷拉升、集体暴涨!85只北交所股票全线飘红,涨幅超过10%的股票有8只,其中同心传动在早盘直线拉升,收盘再度为北交所贡献一个30cm涨停板!盘后公开信息显示,同心传动、森萱医药的龙虎榜上均有“拉萨天团”现身。
今年以来,北交所出现一波深度调整,部分股票已跌破发行价。不过,进入3月份以来,再有北交所公司公告启动回购计划,包括龙竹科技和新安洁,而驱动力和国源科技也在近期公告回购进展。
北交所次新股集体暴拉
3月17日,北交所再度迎来久违的30cm涨停板!
扛起今天冲锋大旗的是同心传动。从盘面上看,同心传动早盘开盘略为高开,10点30分后节节拉升至涨停板;午后虽然涨停板一度打开,但收盘仍站稳涨停板,暴涨30%至9.23元,成交5021万元,换手为19.21%。
同心传动为工信部专精特新“小巨人”企业,主要从事汽车传动轴及相关零部件的研发、生产和销售,主要产品包括非等速传动轴总成及其相关零部件,公司与陕汽商用车、成都大运、南京凯玛、四川南骏等汽车主机制造厂、零部件供应商建立了长期稳固的合作关系。公司于2021年11月15日上市,为北交所开板的第一批新股,其在上市首日收盘以494%领涨新股。不过,随着今年北交所深度调整,该股跌幅一度超过60%。
今天在同心传动的率领下,其它北交所股票也纷纷拉升。88只北交所股票中,除了3只冲击转板正在停牌中,其它85只全线飘红。其中,涨幅超过5%的股票有45只,占比接近53%;涨幅超过10%的股票有8只,除同心传动外,大地电气大涨19.09%,恒合股份、德瑞锂电、吉冈精密、志晟信息、晶赛科技和汉鑫科技的涨幅也均超过10%。
值得一提的是,8只涨超10%的股票中,除了德瑞锂电外,其他7只均为北交所开板后上市的次新股。
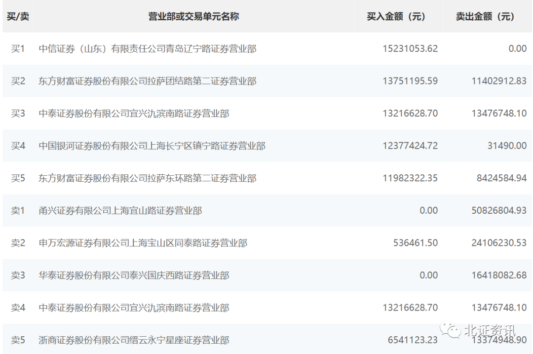
从北交所的盘后公开信息看来,同心传动、森萱医药登上了龙虎榜,A股市场上大名鼎鼎的“拉萨天团”也再度现身。
具体来看,同心传动的买一席位为东方财富证券慈溪三北西大街证券营业部,买入322.61万元;卖一席位为万和证券成都蜀汉路证券营业部,卖出175.25万元。“拉萨天团”中的东方财富证券拉萨团结路第一证券营业部居于买三席位,买入253.73万元的同时卖出14.78万元。

森萱医药今天的成交额达到7.31亿元,东方财富证券拉萨团结路第二证券营业部、东方财富证券拉萨东环路第二证券营业部的买入额均为千万级别,分别为1375.12万元和1198.23万元,不过这两家营业部也分别抛售1140.29万元和842.46万元。

再有公司启动回购计划
资深新三板评论人、北京南山投资创始人周运南认为,经过4轮调整,北交所的政策底、市场底和情绪底基本呈现了,其建议作为市场参与方的一份子,大家可以行动起来,”共同维护一个我们期待中的市场“。
对于持仓的投资者,周运南建议,已经跌了这么多,在此时再选择割肉斩仓,意义就不大了;对于仓位很轻的投资者,“卖在人声鼎沸时,买在无人问津处”,此时可能就是抄底的好区间了。
对于上市公司,周运南认为能做的有三点:一是发布暂停核心股东和高管的减持计划的公告,稳定投资者信心;二是发布董高监增持计划,增强市场信心;三是有条件的公司,可以启动公司回购计划。
事实上,近期已有北交所公司公告启动回购计划,分别为龙竹科技、新安洁,驱动力和国源科技也在近期公告回购进展。
3月14日晚,龙竹科技发布公告,结合公司目前的财务状况、经营状况及近期公司股价,公司拟通过二级市场竞价交易回购公司股份,本次回购价格不低于13.80元/股,不超过25.00元/股,拟回购股份数量不少于600,000股,不超1,000,000 股,占公司目前总股本的比例为 0.52%-0.87%,根据本次拟回购数量及拟回购价格上限测算预计回购资金总额区间为828万元~2500万元。
龙竹科技表示,拟以自有资金回购公司股份用于股权激励,这是基于对公司未来发展的信心和对公司价值的认可,提升公司股票长期投资价值,综合考虑公司经营情况、财务状况及未来的盈利能力等因素,同时建立、健全公司长效激励机制,吸引和留住优秀人才,充分调动公司员工的积极性,使得公司股东、员工共享公司发展成果。
新安洁3月3日发布公告,称公司拟以竞价方式回购股份,数量不少于300万股,不超过600万股(含本数),占公司股份0.98%-1.96%。回购价格不超过8元/股,预计回购资金不超过3000万元,资金来源为公司自有资金。
驱动力公告,截至3月8日,公司通过回购股份专用证券账户以连续竞价转让方式回购公司股份900,000股,占公司总股本 0.56%,占拟回购总数量上限的90%,已支付的总金额为606.23万元,占公司拟回购资金总额上限的60.62%。国源科技则公告,截至2月28日,公司通过回购股份专用证券账户以连续竞价转让方式回购公司股份3,130,973股,占公司总股本 2.34%,占拟回购总数量上限的 62.62%,已支付的总金额为 2943.27万元,占公司拟回购资金总额上限49.89%。
声明:证券时报力求信息真实、准确,文章提及内容仅供参考,不构成实质性投资建议,据此操作风险自担。
证券时报APP
微信公众号