.png)

业界瞩目的新三板转板细则出炉已有一周,受此利好的刺激,这一周多数精选层股票应声上涨,其中万通液压成为人气总龙头,全周累计涨幅超过50%。股转公司网站的公开信息显示,游资成为炒作万通液压股价的主力,包括东方财富证券拉萨团结路第二证券营业部、中信建投证券北京知春路证券营业部等A股市场知名游资。
另一方面,由于不符合分拆上市导致转板可能性较小的精选层股票跌幅明显。国信证券认为,接下来精选层个股之间的分化将有可能加剧,选股时在强调转板预期的同时也需要综合考虑公司基本面、所处赛道、市场竞争地位等因素。
游资助推万通液压飙涨
在千呼万唤之中,新三板精选层转板制度的征求意见稿终于在11月27日出炉。在转板制度的加持之下,本周多数精选层股票应声上涨,精选层第二批发行的公司更是表现出彩。
其中,万通液压最受追捧,成为精选层的人气总龙头:本周二一度飙涨29.15%,接近涨停。虽然周四及周五略有回落,但全周累计涨幅仍达到50.42%,成交金额为1.04亿元。

(万通液压日K线图)
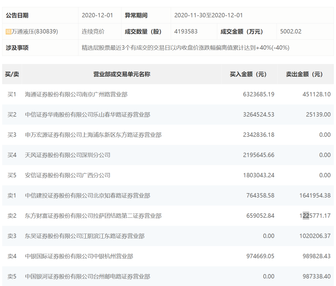
股转公司网站的公开信息显示,游资成为炒作万通液压股价的主力,其中不乏A股市场上的知名游资。11月30日至12月1日期间,买入额最高的是海通证券南京广州路营业部,总计买入632万元,卖出45万元,净买入587万元;买二中信证券华南股份有限公司乐山春华路证券营业部则净买入323万元;申万宏源证券上海浦东新区东方路证券营业部、天风证券深圳分公司、安信证券广西分公司三家合计买入634万元。
卖出榜上,中信建投证券北京知春路证券营业部卖出164万元的同时买入76万元,净卖出88万元。东方财富证券拉萨团结路第二证券营业部是A股市场上最活跃的营业部之一,在这两个交易日中抛出123万元的同时买入66万元,净卖出57万元。此外,东吴证券江阴滨江东路证券营业部、中国银河证券台州邮电路证券营业部、中银国际证券中银杭州营业部也有不同程度的抛售。
从买卖盘的力量对比来看,买方前五席位累计净买入1.54亿元,而卖方前五席位累计卖出348万元,买方力度明显强于卖方。

除万通液压外,本周累计涨幅超过10%的还有鹿得医疗、诺思兰德、三友科技、常辅股份、旭杰科技和观典防务。
36家精选层公司中,仅3家本周录得跌幅,其中贝特瑞和森萱医药分别跌11.56%和10.65%。分析认为,这两只股票跌幅明显,主要与其不符合分拆上市条件而转板可能性存疑有关。
交投方面,本周36只精选层股票总成交量为1.43亿股,环比增长119.44%。其中3只个股的周成交量超过1000万股,诺思兰德的成交量最高,达到2033万股,德众股份、森萱医药分别为1926万股、1600万股。
个股分化有可能加剧
本周精选层股票的集体上涨也点燃了市场的乐观情绪,目前精选层发行正继续有序推进。
其中,数字人将于12月8日正式挂牌精选层,作为转板细则出台后首只挂牌的个股,其表现令人期待。安徽凤凰也进入精选层发行程序,于同一日启动申购。三元基因则于12月4日获得证监会核准的精选层公开发行批文。此外,海力股份、广道高新精选层申报材料在本周获得股转公司受理。
股转公司副总经理隋强在11月30日出席活动时预测,股转公司正在推进精选层发行的常态化,到年底大概率应该是64家能拿到核准文,挂牌应该是在50家左右。
对于精选层个股未来行情如何演绎,业内人士普遍认为将会继续分化的走势。
广证恒生表示,转板制度落地打通精选层企业上市通道,政策受益企业的估值将逐步向A股同类企业靠近,但由于新三板企业质地的比较优势相对2015年有所弱化,且资金理性偏谨慎,精选层市场不同个股间估值及流动性的分化或将延续。其认为,短期需关注市场波动带来的风险,长期看,部分具备转板潜力的企业一旦实现转板,将产生“估值+成长”的双重收益。而精选层市场功能持续优化后持续成长的优质企业即便不转板,也有望获得良好流动性并被合理定价。
国信证券也认为,深改政策的有序推进为符合条件的精选层公司顺利实现转板增加了确定性,有利于相关个股估值向进一步上市公司靠拢,市场整体流动性有望继续获得加强。接下来精选层个股之间的分化较有可能加剧,在强调转板预期的同时也需要综合考虑公司基本面、所处赛道、市场竞争地位等因素,其建议根据以下标准进行选择:
一是能较好满足多方面转板条件指标,不存在明显转板障碍或能较快消除,业务具有稳定性,短期业绩确定性较高或存在利较明显利好因素的公司;
二是业务特色突出,处于所处细分赛道景气度较高、空间较大,具有良好成长性的公司;
三是短期内存在不易消除的转板障碍,但本身已具有较突出综合实力,在行业中处于相对龙头地位的公司。
据征求意见稿显示,转板公司需要满足一定条件,包括:符合创业板/科创板上市条件、股本总额不低于3000万元、股东人数不少于1000人、转板上市相关事宜决议公告日前60个交易日的股票累计成交量不低于1000万股、符合分拆上市条件等。
申万宏源证券研究所新三板研究负责人刘靖认为,成交量指标或引发"高送转"。其认为,首批 32家公司有16 家达不到其中的成交量指标,占了50%,但无需担忧,一是能达到转板标准的公司,届时成交量将上升;二是从目前达标的公司来看,排在前列的颖泰生物、森萱医药、润农节水均为低价股公司。刘靖表示,该规则有可能引发明年部分公司的“高送转”,推升交易量。
声明:证券时报力求信息真实、准确,文章提及内容仅供参考,不构成实质性投资建议,据此操作风险自担。
证券时报APP
微信公众号