9月21日,上证指数早盘震荡走低,随后有所回升,午后持续回升,一度翻红,尾盘再度翻绿;深证成指、创业板指、科创50指数早盘震荡下探,午后持续走低。截至收盘,上证指数报3117.18点,跌0.17%,成交额2695.14亿元;深证成指报11208.51点,跌0.67%,成交额3664.47亿元;创业板指报2331.52点,跌1.49%,成交额1119.66亿元;科创50指数报970.39点,跌1.5%,成交额372亿元。沪深两市合计成交6359.61亿元,成交额较上一交易日减少150.12亿元。
资金流向
1.主力资金
Wind统计显示,沪深两市主力资金今日净流出40.45亿元。其中,创业板主力资金净流出16.94亿元,沪深300成分股主力资金净流出13.84亿元,科创板主力资金净流入1.79亿元。
从行业板块来看,申万所属的28个一级行业,今日有9个行业板块主力资金呈现净流入,其中,化工行业板块主力资金净流入最多,净流入金额为7.47亿元;行业板块主力资金净流入居前的还有有色金属、电气设备、采掘,净流入金额分别为5.09亿元、3.01亿元、2.61亿元。19个行业板块主力资金呈现净流出,其中,医药生物行业板块主力资金净流出最多,净流出金额为14.57亿元;行业板块主力资金净流出靠前的还有电子、机械设备、房地产、计算机,净流出金额分别为13.15亿元、7.29亿元、6.9亿元、6.44亿元。

个股来看,今日有1976只个股获主力资金净流入,其中,19股获主力资金净流入超1亿元。中通客车获主力资金净流入最多,净流入金额为2.57亿元;主力资金净流入居前的个股还有五矿稀土、天赐材料、江淮汽车、格力电器、诺诚健华,净流入金额分别为2.03亿元、1.78亿元、1.75亿元、1.69亿元、1.64亿元。

此外,2791只个股被主力资金净卖出,其中,19股被主力资金净卖出超1亿元。主力资金净流出最多的个股是三安光电,净流出金额为3.68亿元;主力资金净流出居前的个股还有华东重机、歌尔股份、东方财富、新华联、北方华创,净流出金额分别为3.47亿元、3.31亿元、2.94亿元、2.31亿元、2.27亿元。

2.北向资金
北向资金今日成交额为808.46亿元,成交净卖出30.6亿元,连续2个交易日净卖出。其中,沪股通净卖出24.73亿元,深股通净卖出5.87亿元。
活跃个股方面,北向资金净买入较多的有美的集团、万华化学、比亚迪、伊利股份、立讯精密,净买入金额分别为3.46亿元、3.03亿元、1.35亿元、1.23亿元、0.69亿元。北向资金净卖出较多的有贵州茅台、中国中免、招商轮船、隆基绿能、东方财富,净卖出金额分别为8.42亿元、3.29亿元、2.57亿元、2.46亿元、2.05亿元。

3.龙虎榜机构资金动向
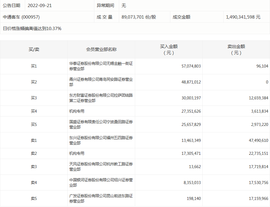
盘后龙虎榜数据显示,今日机构席位资金合计净卖出约7209.62万元。其中,净买入的个股12只,净卖出的个股15只。机构净买入最多的股票是锡装股份,净买入金额约9273.32万元;机构净买入居前的还有栖霞建设、华东重机、中通客车等股。机构净卖出最多的股票是顾家家居,净卖出金额约1.16亿元。机构净卖出靠前的还有维科技术、传艺科技、胜通能源等股。

中通客车今天涨停。盘后数据显示,2个机构出现在龙虎榜单上,合计净买入1830.81万元;华泰证券股份有限公司无锡金融一街证券营业部买入5707.48万元,同时卖出9.61万元;东兴证券股份有限公司福州五四路证券营业部买入1346.33万元,同时卖出4749.06万元。

涨跌停个股
截至收盘,沪深两市合计2878只个股上涨,1778只个股下跌,平盘个股154只,停牌的个股3只。不含当日上市新股,共有47只个股涨停,14只个股跌停。连续涨停天数看,ST曙光已连收5个涨停板,连续涨停板数量最多。
涨停股中,从收盘涨停板封单量来看,中天金融最受追捧,收盘涨停板封单有3366.54万股;其次是招商南油、建投能源,涨停板封单分别有2333.57万股、1553.79万股。以封单金额计算,浙江正特、中通客车、五矿稀土等涨停板封单资金较多,分别有3.77亿元、2.10亿元、1.65亿元。

行业板块、概念方面看,房地产、燃气、教育、物流、石油石化、钢铁、环保、煤炭等行业板块涨幅靠前;天然气、稀土永磁、租售同权、油气设服、光伏高速公路、海洋经济、职业教育、垃圾分类等概念走势活跃。美容护理、医药生物、农林牧渔、商贸零售、食品饮料、电子、建筑材料等行业板块跌幅居前。CRO、猪肉概念、鸡肉概念、TOPcon电池、在线旅游、半导体、体外诊断等概念走弱。涨停个股主要集中在房地产、交通运输、公用事业、环保等行业。

声明:证券时报力求信息真实、准确,文章提及内容仅供参考,不构成实质性投资建议,据此操作风险自担。
证券时报APP
微信公众号