(原标题:半导体梦破灭,重组失败,光学龙头一字跌停!沪深300等重要指数迎调整,中国移动获近百个指数纳入,融资客提前加仓它们)
根据指数编制方法,获调入以及调出的成份股,基本面优差对比较为明显。
5月27日,凤凰光学公告,公司拟以现金的方式向中电海康集团有限公司或其指定的全资子公司出售其截至评估基准日除上市公司母公司层面全部货币资金、无法转移的税项和递延所得税负债,包括江西英锐科技有限公司100%股权,上海凤凰光电有限公司75%股权,丹阳光明光电有限公司17%股权等,同时募集配套资金。经审慎研究分析,公司拟终止本次重大资产重组事项。凤凰光学曾表示,通过本次交易,公司将战略性退出光学器材行业,未来业务定位于半导体外延材料。

5月30日上午,凤凰光学开盘一字跌停。似乎市场有先知先觉,公司此前一日收跌停,自5月26日以来凤凰光学累计跌幅超过26%。早在去年9月30日起,公司迎来了11连板,自2021年9月30日至同年11月23日,股价涨幅近3倍。彼时,公司正在酝酿重大资产重组事件。
数据宝统计,自2020年以来(最新披露日计算),重组失败事件超过100多起,以竞买方角色参与的重组失败公司超过110家,包括百傲化学、丹化科技、东土科技等。最近的一起事件是,吴通控股5月27日披露“收购四九八科技100%股权”,以失败告终。

沪深300等重要A股指数调整成份股
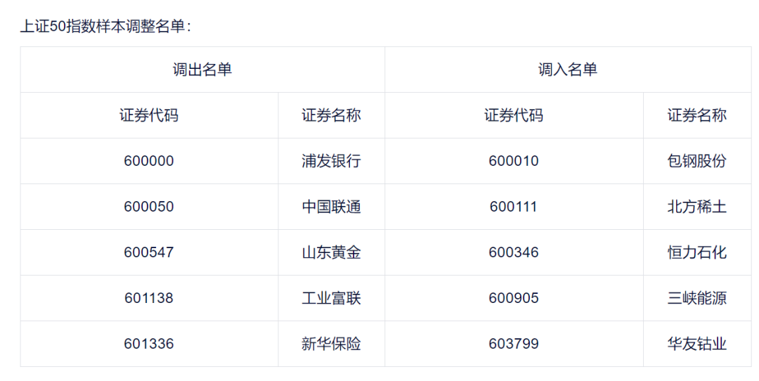
5月27日,中证指数官网显示,根据指数规则,经指数专家委员会审议,中证指数有限公司决定调整沪深300、中证500、上证50、上证180、科创50等指数样本,于2022年6月10日收市后生效。其中沪深300指数更换28只样本,中证500指数更换50只样本,上证50指数、科创50指数各更换5只样本,上证180指数更换18只样本。
从上证50的调整可以看出市场风格由此前的大金融切换至能源、石化等赛道股。

5月30日,深圳证券交易所和深圳证券信息有限公司决定于2022年6月13日对深证成指、创业板指、深证100等指数实施样本股定期调整。
调入样本股基本面优质
根据指数编制方法,获调入以及调出的成份股,基本面优差对比较为明显。调入股业绩成长性稳定,盈利性良好。证券时报·数据宝以中证官网公布的名单进行对比验证,沪深300来看,最新获得调入的股票过去三年(截至2021年)净利润复合增速均值近55%,调出股过去三年净利润复合增速平均-10.81%;上证180、上证50等重要市场指数调入股的业绩也显著优于调出股。与此同时,调入股过去三年净资产收益率也超过了调出股。
市场表现方面,2022年以来(截至最新收盘日5月27日),沪深300即将获调入的成份股平均跌幅15%左右,调出股同期平均跌幅超过25%;上证180即将获调入的成份股平均跌幅低于9%,调出股同期平均跌幅近20%。

中国移动等16股首次获10余个指数纳入成份股
上述新进调入股中,有多家公司首次成为多个指数的成份股。数据宝统计,去年12月以来上市的次新股中,包括北交所在内,共有105股首次获纳入,其中55股成为2个以上指数的成份股,16股成为10个以上指数成份股。
具体来看,中国移动获得近百个指数青睐,成为95个指数的成份股,公司于今年1月5日上市;龙源电力、永安期货被50个以上指数“看中”;物产环能、兰州银行、内蒙新华、迪阿股份成为20个以上指数的成份股。

5只QFII一季度新进持有股还获融资客加仓
这些获纳入重要指数的公司同时也是资本追逐对象,数据宝统计,上述55只即将获多个指数纳入的准成份股中,以5月27日数据与5月20日相比,13股获融资客环比加仓。融资客加仓幅度居前的有明月镜片、雅艺科技、骏成科技等,其中明月镜片融资余额增加近100%。
这13股中,有5股今年一季度还获得QFII新进持有,其中QFII持有晶科能源、雅艺科技、诚达药业的流通股占比均超过1%,前两只个股连续2周获融资客加仓。今年一季度获社保新进持有的荣昌生物不仅获融资客连续2周加仓,且当前属于陆股通成份股,公司是一家具有全球化视野的创新型生物制药企业。春立医疗目前也属于陆股通成份股。
从公司规模来看,晶科能源是13股中唯一的千亿市值公司,也是唯一的逆势上涨股,它是世界领先的太阳能光伏企业,荣昌生物、铜冠铜箔市值超百亿;骏成科技、超达装备等3股市值低于30亿元。

声明:数据宝所有资讯内容不构成投资建议,股市有风险,投资需谨慎。
声明:证券时报力求信息真实、准确,文章提及内容仅供参考,不构成实质性投资建议,据此操作风险自担。
证券时报APP
微信公众号