9月19日,上证指数、深证成指、创业板指早盘探底回升,之后回落走低,午后持续走低;科创50指数早盘一度探底回升,随后回落下探,午后持续下探,跌幅超2%。截至收盘,上证指数报3115.60点,跌0.35%,成交额2899.19亿元;深证成指报11207.04点,跌0.48%,成交额3754.31亿元;创业板指报2350.38点,跌0.72%,成交额1254.69亿元;科创50指数报975.55点,跌2.3%,成交额450亿元。沪深两市合计成交6653.5亿元,成交额较上一交易日减少1340.03亿元。
资金流向
1.主力资金
Wind统计显示,沪深两市主力资金今日净流出163.98亿元。其中,创业板主力资金净流出47.43亿元,沪深300成分股主力资金净流出44.42亿元,科创板主力资金净流入0.51亿元。
从行业板块来看,申万所属的28个一级行业,今日仅有休闲服务、银行、建筑装饰3个行业板块主力资金呈现净流入,净流入金额分别为1.64亿元、1亿元、0.12亿元。25个行业板块主力资金呈现净流出,其中,医药生物行业板块主力资金净流出最多,净流出金额为22.35亿元;行业板块主力资金净流出靠前的还有计算机、电子、非银金融、化工、传媒,净流出金额分别为20.84亿元、19.46亿元、18.27亿元、12.52亿元、7.02亿元。

个股来看,今日有1572只个股获主力资金净流入,其中,19股获主力资金净流入超1亿元。华宝新能获主力资金净流入最多,净流入金额为7.48亿元;主力资金净流入居前的个股还有德邦科技、宁德时代、牧原股份、中化岩土、华西能源,净流入金额分别为6.63亿元、3.21亿元、1.92亿元、1.84亿元、1.77亿元。

此外,3213只个股被主力资金净卖出,其中,26股被主力资金净卖出超1亿元。主力资金净流出最多的个股是东方财富,净流出金额为10.4亿元;主力资金净流出居前的个股还有中国软件、华大九天、中国宝安、药明康德、温氏股份,净流出金额分别为2.14亿元、1.89亿元、1.8亿元、1.79亿元、1.79亿元。

2.北向资金
北向资金今日成交额为851.09亿元,成交净买入16.03亿元。其中,沪股通净买入6.7亿元,深股通净买入9.33亿元。
活跃个股方面,北向资金净买入较多的有赣锋锂业、五粮液、长安汽车、天齐锂业、贵州茅台,净买入金额分别为2.58亿元、2.04亿元、2.03亿元、1.96亿元、1.61亿元。北向资金净卖出较多的有东方财富、宁德时代、阳光电源、保利发展、招商银行,净卖出金额分别为2.41亿元、1.77亿元、1.66亿元、1.58亿元、1.48亿元。

3.龙虎榜机构资金动向
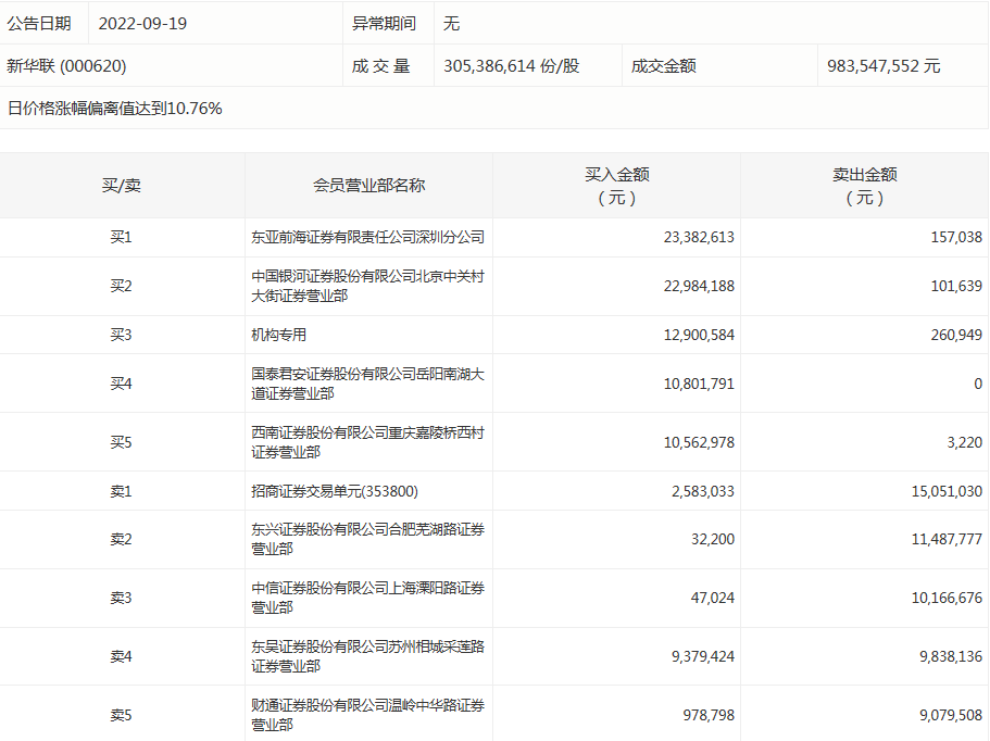
盘后龙虎榜数据显示,今日机构席位资金合计净卖出约4082.63万元。其中,净买入的个股13只,净卖出的个股10只。机构净买入最多的股票是华宝新能,净买入金额约5029.2万元;机构净买入居前的还有新华联、联盛化学、通达股份等股。机构净卖出最多的股票是华大智造,净卖出金额约5875.94万元。机构净卖出靠前的还有中百集团、七彩化学等股。

新华联今天涨停。盘后数据显示,1个机构出现在龙虎榜单上,净买入1263.96万元;中国银河证券股份有限公司北京中关村大街证券营业部买入2298.42万元,同时卖出10.16万元;东吴证券股份有限公司苏州相城采莲路证券营业部买入937.94万元,同时卖出983.81万元。

涨跌停个股
截至收盘,沪深两市合计1146只个股上涨,3680只个股下跌,平盘个股86只,停牌的个股6只。不含当日上市新股,共有37只个股涨停,51只个股跌停。连续涨停天数看,新华联已连收4个涨停板,连续涨停板数量最多。
涨停股中,从收盘涨停板封单量来看,华西能源最受追捧,收盘涨停板封单有2606.27万股;其次是华东重机、海鸥住工,涨停板封单分别有2066.8万股、1563.51万股。以封单金额计算,合盛硅业、华东重机、通达股份等涨停板封单资金较多,分别有2.04亿元、1.02亿元、9477.52万元。

行业板块、概念方面看,行业板块跌多涨少,其中,煤炭、食品饮料、银行、汽车等行业板块涨幅靠前;工业母机、在线旅游、钠离子电池、有机硅、白酒等概念走势活跃。美容护理、计算机、纺织服装、传媒、钢铁、国防军工、电子、通信等行业板块跌幅居前;数字货币、网络安全、培育钻石、医疗美容、电子车牌、化妆品概念、民爆概念、网络游戏等概念走弱。涨停个股主要集中在汽车、建筑装饰、机械设备、食品饮料等行业。

声明:证券时报力求信息真实、准确,文章提及内容仅供参考,不构成实质性投资建议,据此操作风险自担。
证券时报APP
微信公众号