8月26日,上证指数、深证成指、科创50指数早盘冲高回落,午后震荡下探;创业板指早盘一度探底回升,随后回落下探,午后持续走低。截至收盘,上证指数报3236.22点,跌0.31%,成交额3975.56亿元;深证成指报12059.71点,跌0.37%,成交额5315.91亿元;创业板指报2640.29点,跌1.01%,成交额1719.89亿元;科创50指数报1045.99点,跌0.94%,成交额560亿元。沪深两市合计成交9291.47亿元,成交额较上一交易日减少573.4亿元。
资金流向
1.主力资金
Wind统计显示,沪深两市主力资金今日净流出189.12亿元。其中,创业板主力资金净流出74.63亿元,沪深300成分股主力资金净流出42.11亿元,科创板主力资金净流入12.12亿元。
从行业板块来看,申万所属的28个一级行业,今日仅有食品饮料、银行、休闲服务3个行业板块主力资金呈现净流入,净流入金额分别为14.95亿元、1.63亿元、0.14亿元。25个行业板块主力资金呈现净流出,其中,电气设备行业板块主力资金净流出最多,净流出金额为40.05亿元;行业板块主力资金净流出靠前的还有电子、交通运输、计算机、采掘、医药生物,净流出金额分别为27.04亿元、20.52亿元、16.66亿元、15.83亿元、13.04亿元。

个股来看,今日有1857只个股获主力资金净流入,其中,44股获主力资金净流入超1亿元。振华风光获主力资金净流入最多,净流入金额为13.8亿元;主力资金净流入居前的个股还有立讯精密、中矿资源、大北农、比亚迪、鸿达兴业,净流入金额分别为6.23亿元、4.11亿元、3.94亿元、3.71亿元、3.28亿元。

此外,2907只个股被主力资金净卖出,其中,65股被主力资金净卖出超1亿元。主力资金净流出最多的个股是宁德时代,净流出金额为6.78亿元;主力资金净流出居前的个股还有盈方微、通威股份、TCL中环、亿纬锂能、国元证券,净流出金额分别为5.43亿元、5.42亿元、4.59亿元、4.53亿元、4.04亿元。

2.北向资金
北向资金本周累计成交4903.04亿元,成交净卖出46.96亿元。其中,沪股通合计净卖出3.15亿元,深股通合计净卖出43.81亿元。
从单日看,北向资金今日成交额为1042.98亿元,成交净买入51.51亿元,连续2个交易日净买入。其中,沪股通净买入27.21亿元,深股通净买入24.3亿元。
活跃个股方面,北向资金净买入较多的有赣锋锂业、贵州茅台、伊利股份、中国平安、山西汾酒,净买入金额分别为7.42亿元、4.63亿元、2.83亿元、2.01亿元、1.95亿元。北向资金净卖出较多的有东方财富、亿纬锂能、阳光电源、通威股份、中国中免,净卖出金额分别为4.56亿元、3.59亿元、2.36亿元、1.46亿元、0.96亿元。

3.龙虎榜机构资金动向
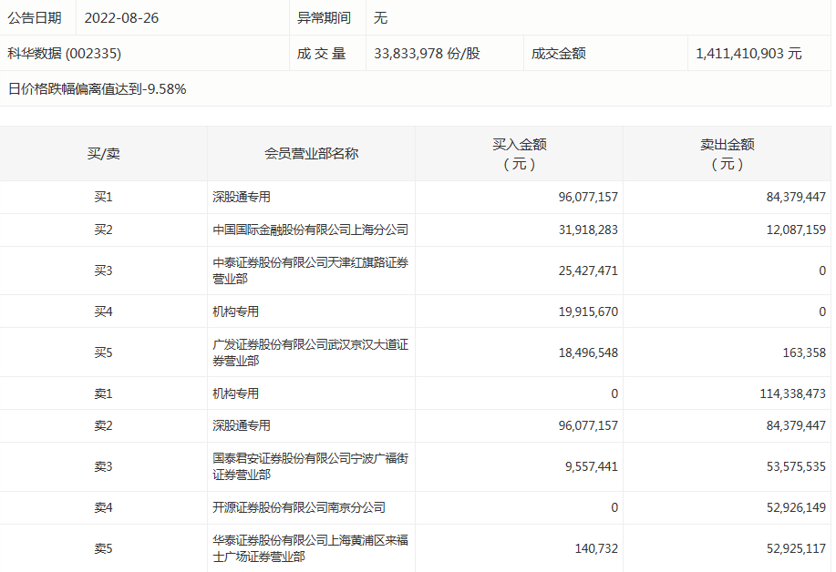
盘后龙虎榜数据显示,今日机构席位资金合计净卖出约9170.48万元。其中,净买入的个股9只,净卖出的个股9只。机构净买入最多的股票是金辰股份,净买入金额约2152.21万元;机构净买入居前的还有皇氏集团、京运通、联盛化学等股。机构净卖出最多的股票是科华数据,净卖出金额约9442.28万元。机构净卖出靠前的还有智光电气、普利特等股。

科华数据今天跌停。盘后数据显示,2个机构出现在龙虎榜单上,合计净卖出9442.28万元;中国国际金融股份有限公司上海分公司买入3191.83万元,同时卖出1208.72万元;国泰君安证券股份有限公司宁波广福街证券营业部买入955.74万元,同时卖出5357.55万元。

涨跌停个股
截至收盘,沪深两市合计1696只个股上涨,2948只个股下跌,平盘个股144只,停牌的个股5只。不含当日上市新股,共有48只个股涨停,35只个股跌停。连续涨停天数看,弘业期货已连收16个涨停板,连续涨停板数量最多。
涨停股中,从收盘涨停板封单量来看,博纳影业最受追捧,收盘涨停板封单有5088.68万股;其次是黑芝麻、西部创业,涨停板封单分别有2528.25万股、2489.31万股。以封单金额计算,博纳影业、弘业期货、源飞宠物等涨停板封单资金较多,分别有6.53亿元、2.65亿元、2.49亿元。

行业板块、概念方面看,行业板块跌多涨少。其中,食品饮料、汽车、造纸印刷、教育、农林牧渔等行业板块涨幅靠前;粮食概念、乳业、宠物经济、草甘膦、工业气体等概念走势活跃。煤炭、燃气、国防军工、石油石化、电子、电气设备、证券、交通运输等行业板块跌幅居前;钻石培育、民爆概念、电子身份证、新型城镇化、减速器、工业母机等概念走弱。涨停个股主要集中在传媒、电气设备、机械设备、汽车、食品饮料等行业。

声明:证券时报力求信息真实、准确,文章提及内容仅供参考,不构成实质性投资建议,据此操作风险自担。
证券时报APP
微信公众号