7月8日,上证指数、深证成指、创业板指、科创50指数早盘高开低走,随后探底回升,之后维持窄幅震荡,午后震荡走低,创业板指跌超1%。截止收盘,上证指数报3356.08点,跌0.25%,成交额4218.84亿元;深证成指报12857.13点,跌0.61%,成交额6074.79亿元;创业板指报2817.64点,跌1.13%,成交额2122.46亿元;科创50指数报1104.02点,跌0.69%,成交额521亿元。沪深两市合计成交10293.63亿元,成交额较上一交易日减少236.64亿元,连续12个交易日突破1万亿元。
资金流向
1.主力资金
Wind统计显示,沪深两市主力资金今日净流出285.17亿元。其中,创业板主力资金净流出65.54亿元,沪深300成分股主力资金净流出86.06亿元,科创板主力资金净流入0.63亿元。
从行业板块来看,申万所属的28个一级行业,今日有6个行业板块主力资金呈现净流入,其中,电子行业板块主力资金净流入最多,净流入金额为10.2亿元;行业板块主力资金净流入居前的还有建筑装饰、家用电器,净流入金额分别为3.99亿元、2.74亿元。22个行业板块主力资金呈现净流出,其中,化工行业板块主力资金净流出最多,净流出金额为69.3亿元;行业板块主力资金净流出靠前的还有电气设备、汽车、有色金属、非银金融、采掘,净流出金额分别为58.62亿元、50.23亿元、28.49亿元、27.34亿元、20.15亿元。

个股来看,今日有1798只个股获主力资金净流入,其中,43股获主力资金净流入超1亿元。立讯精密获主力资金净流入最多,净流入金额为11.39亿元;主力资金净流入居前的个股还有天齐锂业、巨轮智能、上汽集团、复星医药、北方稀土,净流入金额分别为5.57亿元、4.67亿元、3.65亿元、3.56亿元、3.31亿元。

此外,2912只个股被主力资金净卖出,其中,96股被主力资金净卖出超1亿元。主力资金净流出最多的个股是东方财富,净流出金额为19.84亿元;主力资金净流出居前的个股还有长安汽车、攀钢钒钛、比亚迪、赣锋锂业、多氟多,净流出金额分别为13.88亿元、13.6亿元、9.93亿元、9.02亿元、8.03亿元。

2.北向资金
北向资金本周累计成交5826.55亿元,成交净买入35.61亿元。其中,沪股通合计净卖出9.01亿元,深股通合计净买入44.62亿元。
从单日看,北向资金今日成交额为1146.35亿元,成交净买入12.36亿元,连续2个交易日净买入。其中,沪股通净买入5.26亿元,深股通净买入7.1亿元。
活跃个股方面,北向资金净买入较多的有天齐锂业、宁德时代、立讯精密、贵州茅台、中国平安,净买入金额分别为13.19亿元、9.65亿元、4.75亿元、3.74亿元、2.47亿元。北向资金净卖出较多的有先导智能、比亚迪、国轩高科、明阳智能、阳光电源,净卖出金额分别为9.8亿元、5.9亿元、5.84亿元、5.81亿元、4.82亿元。

3.龙虎榜机构资金动向
盘后龙虎榜数据显示,今日机构席位资金合计净卖出约2384.29万元。其中,净买入的个股10只,净卖出的个股13只。机构净买入最多的股票是巨轮智能,净买入金额约1.48亿元;机构净买入居前的还有亚玛顿、大连重工等股。机构净卖出最多的股票是攀钢钒钛,净卖出金额约8603.44万元。机构净卖出靠前的还有建投能源、爱旭股份、德业股份等股。

涨跌停个股
截至收盘,沪深两市合计2518只个股上涨,2019只个股下跌,平盘个股181只,停牌的个股7只。不含当日上市新股,共有74只个股涨停,13只个股跌停。连续涨停天数看,赣能股份已连收9个涨停板,连续涨停板数量最多。
涨停股中,从收盘涨停板封单量来看,天桥起重最受追捧,收盘涨停板封单有4126.68万股;其次是山东矿机、达实智能,涨停板封单分别有2813.65万股、2593.41万股。以封单金额计算,德明利、赣能股份、大连电瓷等涨停板封单资金较多,分别有6.23亿元、2.41亿元、2.34亿元。

行业板块、概念方面看,建筑装饰、传媒、电子、医药生物、通信等行业板块涨幅靠前;智能穿戴、元宇宙、新冠药物、工程机械等概念表现活跃。电气设备、汽车、煤炭、化工、军工、钢铁、有色金属等行业板块跌幅居前。

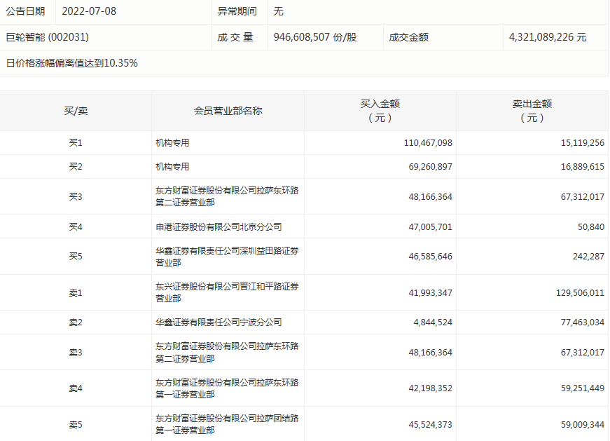
巨轮智能今天涨停。盘后数据显示,2个机构出现在龙虎榜单上,合计净买入1.48亿元;华鑫证券有限责任公司深圳益田路证券营业部买入4658.56万元,同时卖出24.23万元;东兴证券股份有限公司晋江和平路证券营业部买入4199.33万元,同时卖出1.3亿元。

声明:证券时报力求信息真实、准确,文章提及内容仅供参考,不构成实质性投资建议,据此操作风险自担。
证券时报APP
微信公众号