6月30日,上证指数、深证成指、创业板指、科创50指数早盘震荡上扬,午后持续走强,尾盘有所回落,涨幅缩窄。截止收盘,上证指数报3398.62点,涨1.1%,成交额5103.07亿元;深证成指报12896.20点,涨1.57%,成交额6495.02亿元;创业板指报2810.60点,涨1.52%,成交额2177.5元;科创50指数报1105.67点,涨1.37%,成交额570亿元。沪深两市合计成交11598.09亿元,成交额较上一交易日减少1564.27亿元,连续6个交易日突破1万亿元。
资金流向
1.主力资金
Wind统计显示,沪深两市主力资金今日净流入6.29亿元。其中,创业板主力资金净流出4.92亿元,沪深300成分股主力资金净流入59.34亿元,科创板主力资金净流出14.59亿元。
从行业板块来看,申万所属的28个一级行业,今日有11个行业板块主力资金呈现净流入,其中,电气设备行业板块主力资金净流入最多,净流入金额为31.86亿元;行业板块主力资金净流入居前的还有食品饮料、医药生物、银行,净流入金额分别为30.69亿元、15.9亿元、6.63亿元。17个行业板块主力资金呈现净流出,其中,建筑装饰行业板块主力资金净流出最多,净流出金额为14.39亿元;行业板块主力资金净流出靠前的还有汽车、计算机、国防军工、农林牧渔、房地产,净流出金额分别为11.48亿元、8.57亿元、6.65亿元、6.6亿元、5.98亿元。

个股来看,今日有2101只个股获主力资金净流入,其中,68股获主力资金净流入超1亿元。五粮液获主力资金净流入最多,净流入金额为9.88亿元;主力资金净流入居前的个股还有TCL中环、特变电工、江淮汽车、隆基绿能、三一重工,净流入金额分别为8.34亿元、6.91亿元、6.69亿元、5.7亿元、5.16亿元。

此外,2602只个股被主力资金净卖出,其中,55股被主力资金净卖出超1亿元。主力资金净流出最多的个股是晶方科技,净流出金额为6.33亿元;主力资金净流出居前的个股还有巨轮智能、比亚迪、包钢股份、亚玛顿、盐湖股份,净流出金额分别为3.83亿元、3.17亿元、2.92亿元、2.62亿元、2.52亿元。

2.北向资金
北向资金2022年上半年累计成交115326.78亿元,成交净买入717.99亿元。其中,沪股通合计净买入862.06亿元,深股通合计净卖出144.07亿元。
从单月看,北向资金6月累计成交22538.22亿元,成交净买入729.6亿元。其中,沪股通合计净买入524.99亿元,深股通合计净买入204.61亿元。6月有4个交易日净买入额超过100亿元。
据香港交易所公告,香港特别行政区成立纪念日假期将至,南向港股通将于7月1日(星期五)暂停交易;而北向沪股通和深股通于6月30日(星期四)至7月1日(星期五)暂停交易。7月4日(星期一),沪深港通将如常开通。
3.龙虎榜机构资金动向
盘后龙虎榜数据显示,今日机构席位资金合计净买入约6.57亿元。其中,净买入的个股10只,净卖出的个股13只。机构净买入最多的股票是TCL中环,净买入金额约6.66亿元;机构净买入居前的还有爱旭股份、拓新药业、深城交等股。机构净卖出最多的股票是晶方科技,净卖出金额约8712.95万元。机构净卖出靠前的还有京山轻机、国中水务等股。

涨跌停个股
截至收盘,沪深两市合计2766只个股上涨,1714只个股下跌,平盘个股227只,停牌的个股12只。不含当日上市新股,共有96只个股涨停,20只个股跌停。连续涨停天数看,兴民智通、传艺科技、*ST恒康均已连收6个涨停板,连续涨停板数量最多。
涨停股中,从收盘涨停板封单量来看,佳隆股份最受追捧,收盘涨停板封单有6571.04万股;其次是三木集团、红宝丽,涨停板封单分别有4879.1万股、3374.94万股。以封单金额计算,TCL中环、上机数控、日丰股份等涨停板封单资金较多,分别有3.95亿元、2.66亿元、2.5亿元。

行业板块、概念方面看,食品饮料、旅游酒店、电气设备、医药生物、商业百货、电子、家电等行业板块涨幅靠前;调味品概念、预制菜概念、白酒、免税概念、社区团购等概念表现活跃。汽车、建筑装饰、煤炭、计算机等行业板块跌幅居前。

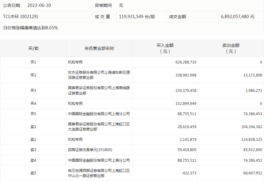
TCL中环今天涨停。盘后数据显示,3个机构出现在龙虎榜单上,合计净买入6.66亿元;东方证券股份有限公司上海浦东新区源深路证券营业部买入3.39亿元,同时卖出1317.18万元;国泰君安证券股份有限公司上海虹口区大连路证券营业部买入2861.95万元,同时卖出2.04亿元。

声明:证券时报力求信息真实、准确,文章提及内容仅供参考,不构成实质性投资建议,据此操作风险自担。
证券时报APP
微信公众号