6月24日,上证指数、深证成指、创业板指盘中震荡上扬,创业板指涨超2%;科创50指数早盘震荡攀升,午后有所回落,随后再度上扬。截止收盘,上证指数报3349.75点,涨0.89%,成交额5096.16亿元;深证成指报12686.03点,涨1.37%,成交额6506.55亿元;创业板指报2824.44点,涨2.33%,成交额2316.32亿元;科创50指数报1101.48点,涨1.81%,成交额609亿元。沪深两市合计成交11602.71亿元,成交额较上一交易日增加842.15亿元。
资金流向
1.主力资金
Wind统计显示,沪深两市主力资金今日净流出90.93亿元。其中,创业板主力资金净流出21.19亿元,沪深300成分股主力资金净流出7.89亿元,科创板主力资金净流入4.14亿元。
从行业板块来看,申万所属的28个一级行业,今日有8个行业板块主力资金呈现净流入,其中,家用电器行业板块主力资金净流入最多,净流入金额为21.58亿元;行业板块主力资金净流入居前的还有电子、化工,净流入金额分别为19.82亿元、13.16亿元。20个行业板块主力资金呈现净流出,其中,汽车行业板块主力资金净流出最多,净流出金额为29.08亿元;行业板块主力资金净流出靠前的还有有色金属、建筑装饰、机械设备、计算机、银行,净流出金额分别为22.78亿元、16.75亿元、16.56亿元、10.99亿元、10.37亿元。

个股来看,今日有1840只个股获主力资金净流入,其中,60股获主力资金净流入超1亿元。格力电器获主力资金净流入最多,净流入金额为15.14亿元;主力资金净流入居前的个股还有隆基绿能、包钢股份、五粮液、药明康德、龙芯中科,净流入金额分别为7.81亿元、7.81亿元、7.38亿元、7.34亿元、6.6亿元。

此外,2862只个股被主力资金净卖出,其中,78股被主力资金净卖出超1亿元。主力资金净流出最多的个股是长安汽车,净流出金额为6.6亿元;主力资金净流出居前的个股还有比亚迪、中信建投、紫金矿业、宁德时代、九安医疗,净流出金额分别为6.26亿元、6.04亿元、6.01亿元、4.11亿元、3.71亿元。

2.北向资金
北向资金本周累计成交5507.71亿元,成交净买入40.64亿元。其中,沪股通合计净买入43.88亿元,深股通合计净卖出3.24亿元。
从单日看,北向资金今日成交额为1143.61亿元,成交净买入96.17亿元,连续2个交易日净买入。其中,沪股通净买入45.39亿元,深股通净买入50.78亿元。
活跃个股方面,北向资金净买入较多的有贵州茅台、格力电器、药明康德、东方财富、隆基绿能,净买入金额分别为14.76亿元、12.19亿元、9.01亿元、7.14亿元、5.61亿元。北向资金净卖出较多的有特变电工、紫金矿业、比亚迪、歌尔股份、长安汽车,净卖出金额分别为3.51亿元、2.37亿元、1.25亿元、0.95亿元、0.22亿元。

3.龙虎榜机构资金动向
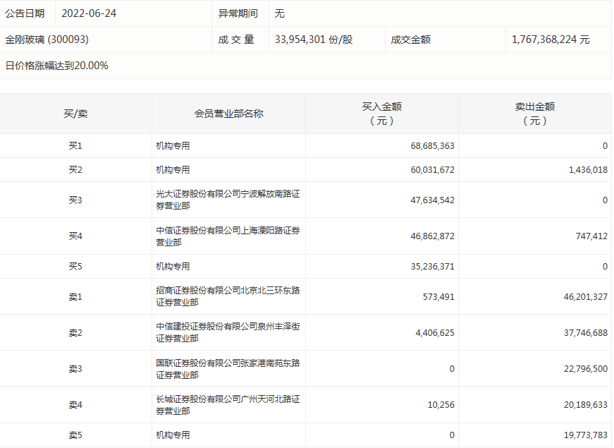
盘后龙虎榜数据显示,今日机构席位资金合计净买入约1821.2万元。其中,净买入的个股15只,净卖出的个股13只。机构净买入最多的股票是金刚玻璃,净买入金额约1.43亿元;机构净买入居前的还有宇邦新材、中科三环、抚顺特钢等股。机构净卖出最多的股票是山东赫达,净卖出金额约1.86亿元。机构净卖出靠前的还有东山精密、兴齐眼药等股。

涨跌停个股
截至收盘,沪深两市合计2989只个股上涨,1529只个股下跌,平盘个股192只,停牌的个股18只。不含当日上市新股,共有118只个股涨停,5只个股跌停。连续涨停天数看,集泰股份已连收11个涨停板,连续涨停板数量最多。
涨停股中,从收盘涨停板封单量来看,松芝股份最受追捧,收盘涨停板封单有4354.23万股;其次是*ST恒康、巨轮智能,涨停板封单分别有3714.33万股、3217.7万股。以封单金额计算,道恩股份、松芝股份、亚玛顿等涨停板封单资金较多。

行业板块、概念方面看,旅游、家电、电气设备、国防军工、食品饮料、医药生物、化工等行业板块涨幅靠前;HJT电池、有机硅、CXO概念、稀土永磁等概念表现活跃;教育、煤炭、银行、房地产等行业板块跌幅居前。

金刚玻璃今天涨停。盘后数据显示,4个机构出现在龙虎榜单上,合计净买入1.43亿元;中信证券股份有限公司上海溧阳路证券营业部买入4686.29万元,同时卖出74.74万元;中信建投证券股份有限公司泉州丰泽街证券营业部买入440.66万元,同时卖出3774.67万元。

声明:证券时报力求信息真实、准确,文章提及内容仅供参考,不构成实质性投资建议,据此操作风险自担。
证券时报APP
微信公众号