5月6日,上证指数、深证成指、创业板指低开,盘中震荡下探;科创50指数早盘冲高回落,午后震荡走低。截止收盘,上证指数报3001.56点,跌2.16%,成交额3462.14亿元;深证成指报10809.88点,跌2.14%,成交额4135.92亿元;创业板指报2244.97点,跌1.9%,成交额1473.12亿元;科创50指数报942.23点,跌1.45%,成交额308亿元。沪深两市合计成交7598.06亿元,成交额较上一交易日减少1411.14亿元。
资金流向
1.主力资金
Wind统计显示,沪深两市主力资金今日净流出298.02亿元。其中,创业板主力资金净流出32.34亿元,沪深300成分股主力资金净流出125.94亿元,科创板主力资金净流出11.59亿元。
从行业板块来看,申万所属的28个一级行业,今日仅有计算机、轻工制造、综合3个行业板块主力资金呈现净流入,净流入金额分别为12.67亿元、0.63亿元、0.16亿元。25个行业板块主力资金呈现净流出,其中,电子行业板块主力资金净流出最多,净流出金额为40.44亿元;行业板块主力资金净流出靠前的还有食品饮料、有色金属、化工、公用事业、房地产,净流出金额分别为28.53亿元、25.55亿元、21.13亿元、20.62亿元、20.47亿元。

个股来看,今日有1492只个股获主力资金净流入,其中,16股获主力资金净流入超1亿元。恒力石化获主力资金净流入最多,净流入金额为3.84亿元;主力资金净流入居前的个股还有浙江建投、精华制药、欧圣电气、中国长城、爱尔眼科,净流入金额分别为2.76亿元、2.48亿元、1.97亿元、1.84亿元、1.77亿元。

此外,3129只个股被主力资金净卖出,其中,69股被主力资金净卖出超1亿元。主力资金净流出最多的个股是海康威视,净流出金额为23.25亿元;主力资金净流出居前的个股还有东方财富、贵州茅台、招商银行、五粮液、中国海油,净流出金额分别为10.1亿元、6.25亿元、5.53亿元、5.44亿元、5.1亿元。

2.北向资金
据香港交易所公告,香港佛诞假期将至,南向港股通将于5月9日(星期一)暂停交易;北向沪股通和深股通则于5月6日(星期五)至5月9日(星期一)暂停交易。5月10日(星期二),沪深港通将如常开通。
3.龙虎榜机构资金动向
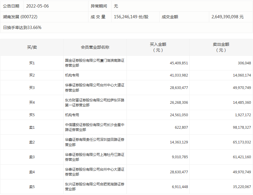
盘后龙虎榜数据显示,今日机构席位资金合计净卖出约4539.83万元。其中,净买入的个股6只,净卖出的个股16只。机构净买入最多的股票是湖南发展,净买入金额约4960.77万元;机构净买入居前的还有精华制药、浙江建投等股。机构净卖出最多的股票是奥翔药业,净卖出金额约5311.72万元。机构净卖出靠前的还有联盛化学、晶雪节能、清研环境等股。

涨跌停个股
截至收盘,沪深两市合计1254只个股上涨,3328只个股下跌,平盘个股80只,停牌的个股54只。不含当日上市新股,共有107只个股涨停,61只个股跌停。连续涨停天数看,新华制药、徐家汇、浙江建投均已连收6个涨停板,连续涨停板数量最多。
涨停股中,从收盘涨停板封单量来看,新华制药最受追捧,收盘涨停板封单有17973.27万股;其次是二三四五、中润资源,涨停板封单分别有3071.20万股、1879.51万股。以封单金额计算,新华制药、中国医药、中国软件等涨停板封单资金最多,分别有29.87亿元、4.01亿元、2.75亿元。

从行业板块方面看,行业板块跌多涨少,其中,软件开发、医疗器械等行业板块涨幅靠前。房地产、有色金属、钢铁、食品饮料、建筑装饰、教育、券商等行业板块跌幅居前。涨停个股主要集中在医药生物、计算机、建筑装饰、轻工制造、电气设备、传媒等行业。

湖南发展今天涨5.29%。盘后数据显示,2个机构出现在龙虎榜单上,合计净买入4960.77万元。国金证券股份有限公司厦门湖滨南路证券营业部买入4540.99万元,同时卖出30.6万元;中信建投证券股份有限公司长沙金星中路证券营业部买入62.28万元,同时卖出9817.83万元。

声明:证券时报力求信息真实、准确,文章提及内容仅供参考,不构成实质性投资建议,据此操作风险自担。
证券时报APP
微信公众号