4月15日,上证指数、深证成指、创业板指、科创50指数早盘震荡走低,午后探底回升,一度翻红,尾盘再度回落,截止收盘,上证指数报3211.24点,跌0.45%,成交额4134.99亿元;深证成指报11648.57点,跌0.56%,成交额4977.39亿元;创业板指报2460.36点,跌0.24%,成交额1631.87亿元;科创50指数报973.36点,跌0.23%,成交额307亿元。沪深两市合计成交9112.38亿元,成交额较上一交易日有所增加。
资金流向
1.主力资金
Wind统计显示,沪深两市主力资金今日净流出383.89亿元。其中,创业板主力资金净流出75.99亿元,沪深300成分股主力资金净流出61.15亿元,科创板主力资金净流出6.12亿元。
从行业板块来看,申万所属的28个一级行业,今日仅有银行、汽车2个行业板块主力资金呈现净流入,净流入金额分别为9.16亿元、3.8亿元。26个行业板块主力资金呈现净流出,其中,医药生物行业板块主力资金净流出最多,净流出金额为60.51亿元;行业板块主力资金净流出靠前的还有化工、有色金属、电气设备、计算机、建筑装饰、传媒,净流出金额分别为54.54亿元、41.39亿元、29.33亿元、26.07亿元、25.42亿元、21.83亿元。

个股来看,今日有1472只个股获主力资金净流入,其中,29股获主力资金净流入超1亿元。山西焦煤获主力资金净流入最多,净流入金额为5.92亿元;主力资金净流入居前的个股还有平安银行、招商银行、兴业银行、迈瑞医疗、福耀玻璃,净流入金额分别为3.93亿元、3.26亿元、2.62亿元、2.58亿元、2.46亿元。

此外,3191只个股被主力资金净卖出,其中,90股被主力资金净卖出超1亿元。主力资金净流出最多的个股是九安医疗,净流出金额为22.03亿元;主力资金净流出居前的个股还有以岭药业、盐湖股份、紫金矿业、天赐材料、阳光电源,净流出金额分别为15.11亿元、6.85亿元、6.24亿元、5.35亿元、4.93亿元。

2.北向资金
据香港交易所公告,因香港耶稣受难节、复活节假期,南向港股通于4月15日(星期五)至4月18日(星期一)暂停交易;北向沪股通和深股通则于4月14日(星期四)至4月18日(星期一)暂停交易。4月19日(星期二),沪深港通将如常开通。
3.龙虎榜机构资金动向
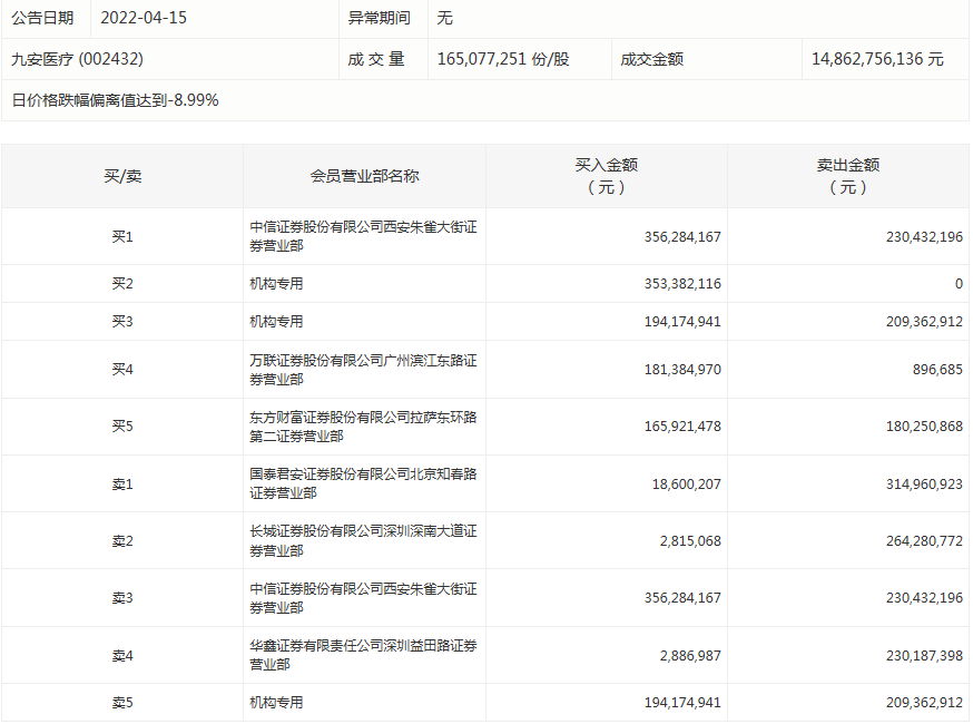
盘后龙虎榜数据显示,今日机构席位资金合计净买入约5348.9万元。其中,净买入的个股12只,净卖出的个股10只。机构净买入最多的股票是九安医疗,净买入金额约3.23亿元;机构净买入居前的还有上声电子、瑞可达、兰卫医学等股。机构净卖出最多的股票是山西焦煤,净卖出金额约2.17亿元。机构净卖出靠前的还有以岭药业、氯碱化工等股。

涨跌停个股
截至收盘,沪深两市合计1009只个股上涨,3612只个股下跌,平盘个股56只,停牌的个股16只。不含当日上市新股,共有46只个股涨停,69只个股跌停。连续涨停天数看,步步高、畅联股份、ST美讯均已连收5个涨停板,连续涨停板数量最多。
涨停股中,从收盘涨停板封单量来看,上海能源最受追捧,收盘涨停板封单有17172.5万股;其次是云维股份、华联股份,涨停板封单分别有4505.95万股、3727.53万股。以封单金额计算,上海能源、云维股份、中交地产等涨停板封单资金较多,分别有20.78亿元、2亿元、1.86亿元。

从行业板块方面看,行业板块跌多涨少,其中,银行、钢铁、房地产、电力等行业板块涨幅靠前;物流、传媒、建筑装饰、有色金属、煤炭、环保、石油石化等行业板块跌幅居前。涨停个股主要集中在汽车、煤炭、房地产、商贸零售、化工等行业。

九安医疗今天跌停。盘后数据显示,3个机构出现在龙虎榜单上,合计净买入3.23亿元。东方财富证券股份有限公司拉萨东环路第二证券营业部买入1.66亿元,同时卖出1.8亿元;国泰君安证券股份有限公司北京知春路证券营业部买入1860.02万元,同时卖出3.15亿元。

声明:证券时报力求信息真实、准确,文章提及内容仅供参考,不构成实质性投资建议,据此操作风险自担。
证券时报APP
微信公众号