6月23日,上证指数、深证成指、创业板指、科创50指数早盘冲高回落,随后探底回升,午后强势上扬,上证指数、科创50指数均涨超1.5%,深证成指涨超2%,创业板指涨超3%。截止收盘,上证指数报3320.15点,涨1.62%,成交额4742亿元;深证成指报12514.73点,涨2.19%,成交额6018.56亿元;创业板指报2760.10点,涨3.09%,成交额2100.86亿元;科创50指数报1081.84点,涨1.71%,成交额518亿元。沪深两市合计成交10760.56亿元,成交额较上一交易日增加796.02亿元。
资金流向
1.主力资金
Wind统计显示,沪深两市主力资金今日净流入28.59亿元。其中,创业板主力资金净流入18.36亿元,沪深300成分股主力资金净流入25.51亿元,科创板主力资金净流出3.64亿元。
从行业板块来看,申万所属的28个一级行业,今日有8个行业板块主力资金呈现净流入,其中,汽车行业板块主力资金净流入最多,净流入金额为58.29亿元;行业板块主力资金净流入居前的还有非银金融、电子、国防军工,净流入金额分别为40.26亿元、17.62亿元、17.46亿元。20个行业板块主力资金呈现净流出,其中,医药生物行业板块主力资金净流出最多,净流出金额为49.81亿元;行业板块主力资金净流出靠前的还有化工、传媒、钢铁、公用事业、农林牧渔,净流出金额分别为15.35亿元、13.4亿元、12.43亿元、10亿元、9.57亿元。

个股来看,今日有2010只个股获主力资金净流入,其中,72股获主力资金净流入超1亿元。比亚迪获主力资金净流入最多,净流入金额为14.2亿元;主力资金净流入居前的个股还有东方财富、长安汽车、中信建投、天齐锂业、中信证券,净流入金额分别为12.9亿元、11.64亿元、7.39亿元、5.96亿元、5.9亿元。

此外,2684只个股被主力资金净卖出,其中,52股被主力资金净卖出超1亿元。主力资金净流出最多的个股是包钢股份,净流出金额为13.08亿元;主力资金净流出居前的个股还有北方稀土、九安医疗、歌尔股份、格力电器、洛阳钼业,净流出金额分别为11.84亿元、10.05亿元、8.07亿元、7.06亿元、4.88亿元。

2.北向资金
北向资金今日成交额为1033.01亿元,成交净买入120.33亿元。其中,沪股通净买入53.44亿元,深股通净买入66.89亿元。
活跃个股方面,北向资金净买入较多的有东方财富、汇川技术、中国平安、招商银行、立讯精密,净买入金额分别为5.87亿元、5.37亿元、4.46亿元、2.96亿元、2.88亿元。北向资金净卖出较多的有中国中免、北方稀土、格力电器、歌尔股份、通威股份,净卖出金额分别为4.73亿元、3.2亿元、2.65亿元、1.26亿元、0.99亿元。

3.龙虎榜机构资金动向
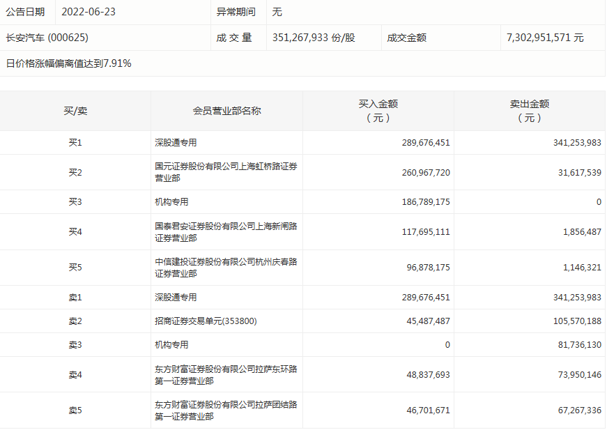
盘后龙虎榜数据显示,今日机构席位资金合计净卖出约6771.68万元。其中,净买入的个股16只,净卖出的个股18只。机构净买入最多的股票是长安汽车,净买入金额约1.05亿元;机构净买入居前的还有克来机电、望变电气、泰恩康等股。机构净卖出最多的股票是山东赫达,净卖出金额约2.99亿元。机构净卖出靠前的还有三全食品、特力A、京山轻机等股。

涨跌停个股
截至收盘,沪深两市合计3943只个股上涨,682只个股下跌,平盘个股87只,停牌的个股14只。不含当日上市新股,共有117只个股涨停,3只个股跌停。连续涨停天数看,集泰股份已连收10个涨停板,连续涨停板数量最多。
涨停股中,从收盘涨停板封单量来看,ST大集最受追捧,收盘涨停板封单有8021.62万股;其次是海陆重工、*ST恒康,涨停板封单分别有4724.2万股、4170.51万股。以封单金额计算,拓山重工、道恩股份、松芝股份等涨停板封单资金较多,分别有4.97亿元、3.38亿元、3.15亿元。

行业板块、概念方面看,汽车、保险、证券、国防军工、电气设备、机械设备、电子、计算机等行业板块涨幅靠前;无人驾驶、新能源汽车、地热能、特斯拉、大飞机等概念表现活跃。仅有教育行业板块下跌。涨停个股主要集中在汽车、机械设备、电子、电气设备、化工、家用电器等行业。

长安汽车今天涨停。盘后数据显示,2个机构出现在龙虎榜单上,合计净买入1.05亿元;国元证券股份有限公司上海虹桥路证券营业部买入2.61亿元,同时卖出3161.75万元;东方财富证券股份有限公司拉萨东环路第一证券营业部买入4883.77万元,同时卖出7395.01万元。

声明:证券时报力求信息真实、准确,文章提及内容仅供参考,不构成实质性投资建议,据此操作风险自担。
证券时报APP
微信公众号