3月24日,上证指数、深证成指、科创50指数震荡走低,午后有所回升;创业板指早盘震荡下探,午后回升,一度翻红,随后再度回落,截止收盘,上证指数报3250.26点,跌0.63%,成交额3907.28亿元;深证成指报12305.50点,跌0.83%,成交额5293.62亿元;创业板指报2706.21点,跌0.36%,成交额2013.39亿元;科创50指数报1134.57点,跌0.83%,成交额364亿元。沪深两市合计成交9200.9亿元,成交额较上一交易日有所减少。
资金流向
1.主力资金
Wind统计显示,沪深两市主力资金今日净流出239.02亿元。其中,创业板主力资金净流出73.74亿元,沪深300成分股主力资金净流出58.59亿元,科创板主力资金净流出5.08亿元。
从行业板块来看,申万所属的28个一级行业,今日有5个行业板块主力资金呈现净流入,其中,医药生物行业板块主力资金净流入最多,净流入金额为61.45亿元;行业板块主力资金净流入居前的还有银行、采掘,净流入金额分别为8.72亿元、1.56亿元。23个行业板块主力资金呈现净流出,其中,计算机行业板块主力资金净流出最多,净流出金额为44.25亿元;行业板块主力资金净流出靠前的还有电气设备、电子、通信、机械设备、传媒,净流出金额分别为42.13亿元、34.61亿元、26.39亿元、23.61亿元、21.08亿元。

个股来看,今日有1587只个股获主力资金净流入,其中,39股获主力资金净流入超1亿元。九安医疗获主力资金净流入最多,净流入金额为12.36亿元;主力资金净流入居前的个股还有中国平安、永太科技、盐湖股份、药明康德、云天化,净流入金额分别为5.78亿元、4.33亿元、4.27亿元、4.27亿元、3.72亿元。

此外,3067只个股被主力资金净卖出,其中,75股被主力资金净卖出超1亿元。主力资金净流出最多的个股是中兴通讯,净流出金额为9.61亿元;主力资金净流出居前的个股还有隆基股份、五粮液、雪人股份、用友网络、浙江建投,净流出金额分别为6.57亿元、6.53亿元、5.69亿元、4.4亿元、4.17亿元。

2.北向资金
北向资金今日成交额为770.76亿元,成交净卖出1.27亿元,连续4个交易日净卖出。其中,沪股通净买入12.05亿元,深股通净卖出13.32亿元。
活跃个股方面,北向资金净买入较多的有紫金矿业、招商银行、亿纬锂能、兴业银行、药明康德,净买入金额分别为3.84亿元、2.24亿元、2.22亿元、1.63亿元、1.43亿元。北向资金净卖出较多的有中兴通讯、长江电力、东方财富、山西汾酒、五粮液,净卖出金额分别为3.21亿元、2.83亿元、2.66亿元、2.5亿元、2.28亿元。

3.龙虎榜机构资金动向
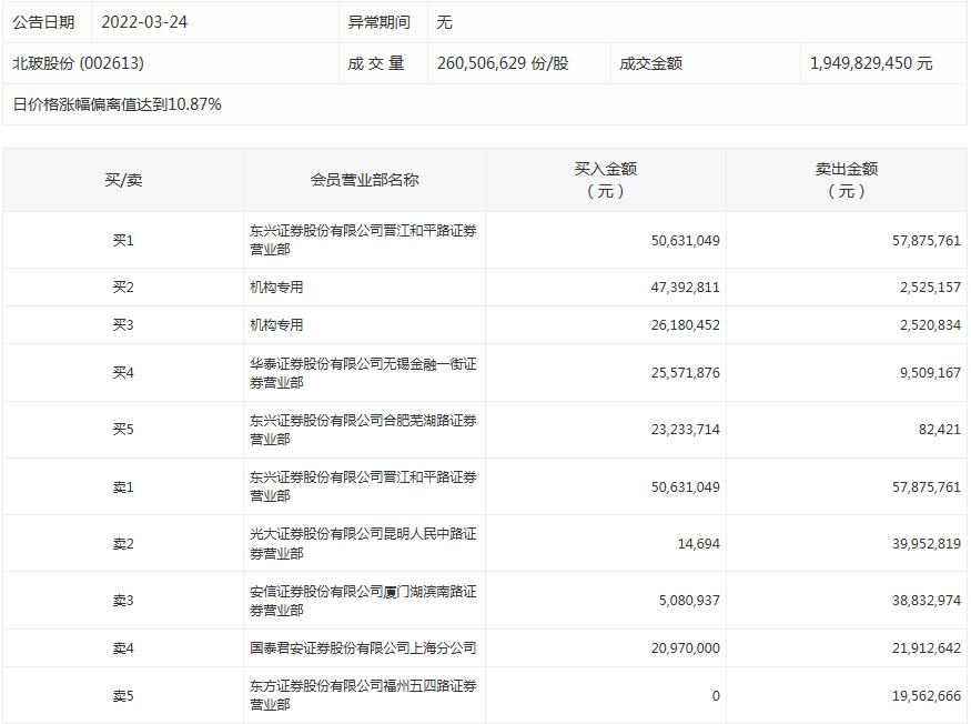
盘后龙虎榜数据显示,今日机构席位资金合计净卖出约7.4亿元。其中,净买入的个股9只,净卖出的个股14只。机构净买入最多的股票是北玻股份,净买入金额约6852.73万元;机构净买入居前的还有精华制药、三羊马等股。机构净卖出最多的股票是闻泰科技,净卖出金额约6.15亿元。机构净卖出靠前的还有浙江建投、永太科技等股。

涨跌停个股
截至收盘,沪深两市合计942只个股上涨,3658只个股下跌,平盘个股67只,停牌的个股6只。不含当日上市新股,共有76只个股涨停,20只个股跌停。
涨停股中,从收盘涨停板封单量来看,粤水电最受追捧,收盘涨停板封单有7003.54万股;其次是冠城大通、立航科技等,涨停板封单分别有5472.37万股、3093.93万股。以封单金额计算,立航科技、粤水电、上海医药等涨停板封单资金较多,分别有17.11亿元、5.84亿元、3.85亿元。

从行业板块方面看,行业板块跌多涨少,其中,医药生物、煤炭、有色金属、化工等行业板块涨幅靠前;计算机、传媒、建筑材料、电子、食品饮料、房地产、通信等行业板块跌幅居前。涨停个股主要集中在医药生物、化工、房地产、纺织服装、机械设备等行业。

北玻股份今天涨停。盘后数据显示,2个机构出现在龙虎榜单上,合计净买入6852.73万元。华泰证券股份有限公司无锡金融一街证券营业部买入2557.19万元,同时卖出950.92万元;国泰君安证券股份有限公司上海分公司买入2097万元,同时卖出2191.26万元。

声明:证券时报力求信息真实、准确,文章提及内容仅供参考,不构成实质性投资建议,据此操作风险自担。
证券时报APP
微信公众号