9月1日登陆北交所的昆工科技今天再度涨停,这已是该股四天内两度涨停,目前股价相较发行价已翻番,成为今年以来最牛的次新股!公开信息显示,深圳游资是炒作该股的主要推手。
包括昆工科技在内,近期上市的多只北交所次新股表现强势,优质企业上市的效应可见一斑。由此,还有一批颇具看点的优质企业正在冲击北交所。值得一提的是,9月9月全国股转公司发布2022年第四批拟调入创新层的42只挂牌公司中,部分符合北交所上市财务条件,可见北交所“后备军”仍在继续扩容。
成今年北交所最牛次新股
中秋小长假过后的第一个交易日,昆工科技高开高走,午后更是拉出30cm长阳,成功封板,实现四天两涨停。
昆工科技在9月1日上市首日即大涨51.21%,随后略为回落,于9月7日涨停。经过今天的再度涨停之后,目前昆工科技的最新价为12.07元,相较发行价5.8元,已上涨1.08倍。在2022年以来登陆北交所的次新股中,昆工科技表现最强,成为今年最牛的次新股。
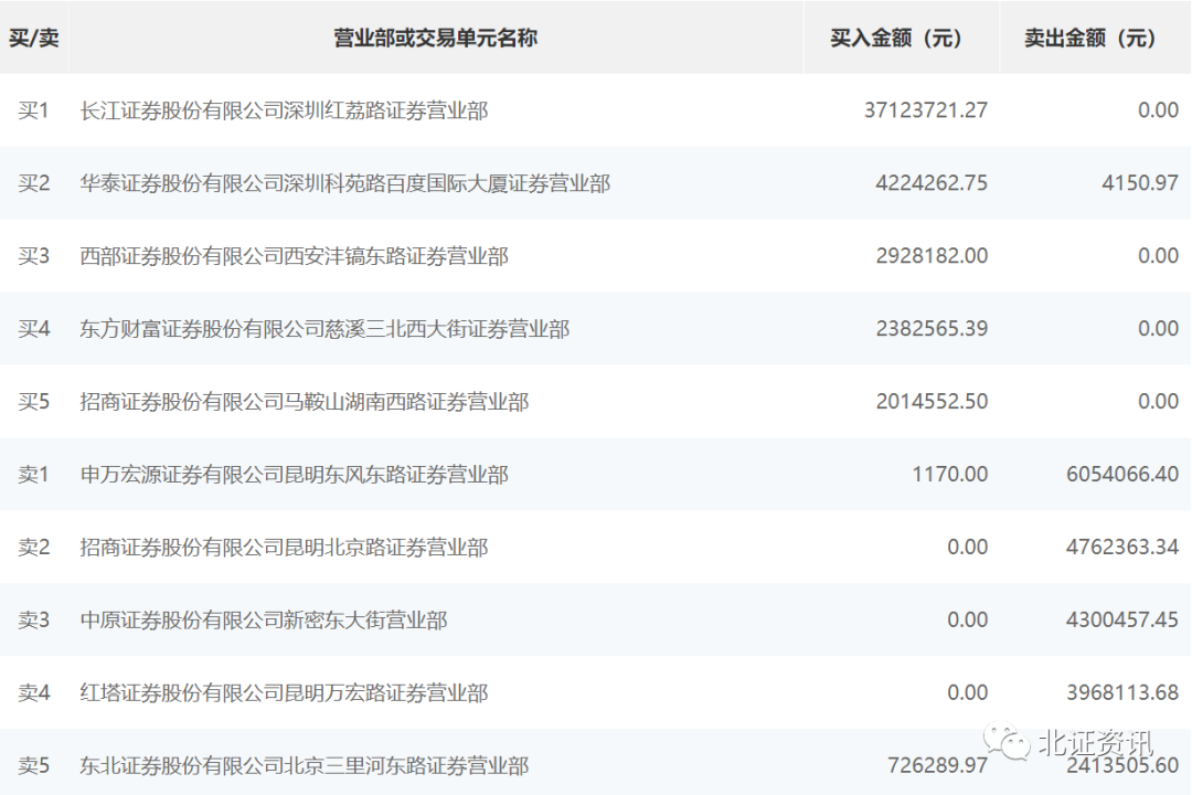
今天昆工科技成交金额达到1.13亿元,换手率为19.76%。北交所的盘后公开信息显示,今天炒作该股的均为游资,其中来自深圳的游资成为买入主力,而来自公司所在地昆明的游资则是卖出主力。其中,买一长江证券股份有限公司深圳红荔路证券营业部大手笔吸纳3712.37万元,占该股当天成交金额的近33%。买二华泰证券股份有限公司深圳科苑路百度国际大厦证券营业部也抢筹422.43万元。而卖出主力则来自昆明,申万宏源证券有限公司昆明东风东路证券营业部、招商证券股份有限公司昆明北京路证券营业部、红塔证券股份有限公司昆明万宏路证券营业部总共卖出1478.46万元。

这是昆工科技第三次登上龙虎榜。其中,在9月8日,A股知名游资东方财富证券股份有限公司拉萨团结路第二证券营业部买入508.40万元,同时卖出159.41万元。
昆工科技主要从事节能降耗电极新材料及电极产品的研发、设计和产业化生产,主要产品包括高效节能降耗栅栏型铝基铅合金复合材料阳极、铜电解精炼或电积用不锈钢阴极、锌电积用高性能铝合金阴极等。昆工科技是首批落地昆明市高新区的企业,也是首批专精特新“小巨人”企业。业界分析认为,引爆昆工科技股价的,就是其储能概念。
消息面上,昆工科技9月9日公告称,公司于当日收到国家知识产权局颁发的《发明专利证书》1项,发明专利名称为一种大容量铅炭储能电池及制备方法。该发明专利获得授权,为公司拟投资建设项目“昆明市晋宁区大容量铅炭长时储能电池板栅及储能电池项目、麒麟区铅炭储能电池生产基地项目”提供了核心技术支撑。近日,昆工科技还签署两个新项目,分别是“昆明市晋宁区大容量铅炭长时储能电池板栅及储能电池项目”和“曲靖市麒麟区铅炭储能电池生产基地项目”。其中,第一个项目总投资10亿元,第二个项目投资12亿元。
业绩方面,上半年公司实现营业收入2.88亿元,同比增长5.15%,净利润2302.08万元,同比增长27.63%。
创新层扩容输送“优质生”
7月以来,多只北交所次新股掀起了一波赚钱效应。除昆工科技外,还包括7月18日上市的惠丰钻石、7月13日上市的利润智控以及8月8日上市的海泰新能等,这3只股票目前股价较发行价分别上涨64.62%、32.33%和29.50%。
其中,有“北交所金刚石第一股”之称的惠丰钻石的股价也曾较发行价翻倍,随后有所回调。惠丰钻石是一家专业从事人造单晶金刚石粉体的研发、生产和销售的高新技术企业,主要产品包括金刚石微粉和金刚石破碎整形料两大系列。自2011年成立以来,公司坚持聚焦金刚石微粉“切磨抛”及“新型功能材料”方面的应用,经过多年的技术积累与创新,已发展成为国内领先的金刚石微粉产品供应商。公司也于2020年12月被国家工信部授予专精特新“小巨人” 称号。
北交所次新股表现活跃,也吸引了一批企业加快冲击北交所上市的步伐。
目前北交所处于公开发行阶段的已有5只股票,其中中纺标、众诚科技已于今天启动申购,天马新材也将于9月16日启动申购,这三家均采用直接定价方式;而硅烷科技、华岭股份则将采访询价方式,其中华岭股份已确定上市日为10月12日。

而新三板也不断有企业官宣想要北交所上市,并已进入上市辅导期。值得一提的是,9月9月,全国股转公司发布2022年第四批拟调入创新层的挂牌公司(以下简称拟进层公司)初筛名单,共计42家公司拟调入创新层。本批次调层结束后,新三板2022年进层实施工作将全部完成,创新层公司数量将首次超过1700家,较北交所设立前增加三成,层级规模将再创历史新高。全国股转公司表示,已有7家拟进层公司提交了北交所上市辅导备案材料,本次进层后,在满足发行上市条件的前提下即可适时申报北交所。
全国股转公司称,北交所设立后,创新层作为北交所上市“后备军”、规范培育“训练营”和市场生态“稳定器”,发挥着承上启下的重要作用。从2022年分层工作实施情况来看,创新层培育和遴选功能增强,对优质企业的吸引力不断提升。374家新进层和拟进层公司符合北交所上市财务条件,占比67.15%,96家新进层和拟进层公司已提交北交所上市辅导备案材料,35家公司在进入创新层后提交了北交所上市申报材料。
资深新三板评论人、北京南山投资创始人周运南建议, 投资者可以积极参加新三板中准北交所企业和潜力企业的定增、老股转让或者二级市场买入,潜伏等待上北交所,类似Pre-IPO投资。特别是近期挂牌的一些新三板企业,大都业绩优秀并且都是奔北交所而来的。
校对:王蔚
声明:证券时报力求信息真实、准确,文章提及内容仅供参考,不构成实质性投资建议,据此操作风险自担。
证券时报APP
微信公众号