证券时报官方微信公众号

扫描上方二维码关注微信公众号

证券时报官方新闻客户端

扫描上方二维码下载客户端

首页 > 快讯 > e公司
您所在的位置:首页>快讯>e公司

大金重工再度触及涨停 四机构合计卖出2.46亿元

2022-05-12 16:51 来源: 证券时报·e公司 作者: 许擎天梅
证券时报·e公司 许擎天梅 2022-05-12 16:51

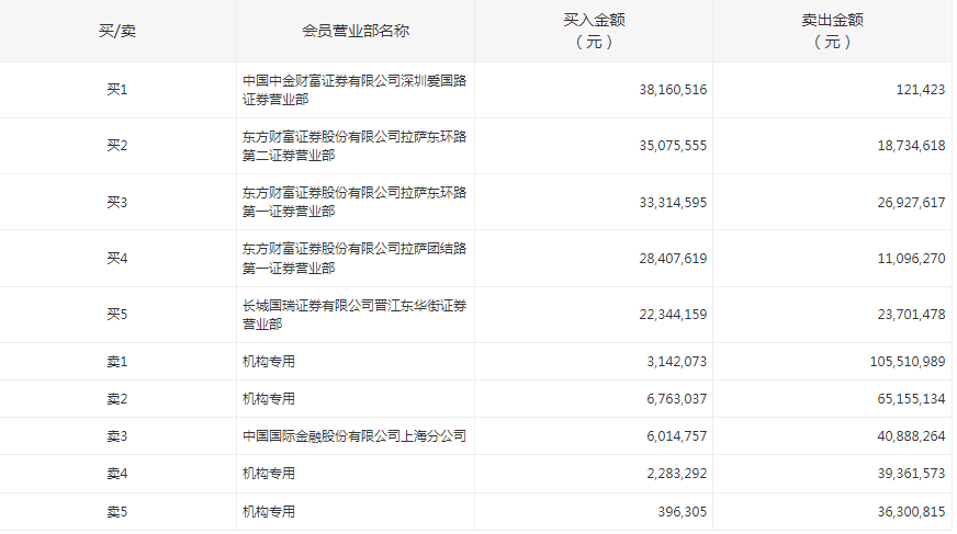
证券时报e公司讯,大金重工今日再度触及涨停,近三日累涨29%,期间四机构合计卖出2.46亿元并买入1258万元。

声明:证券时报力求信息真实、准确,文章提及内容仅供参考,不构成实质性投资建议,据此操作风险自担。

为你推荐

国庆长假露营又“翻红”?这些问题也逐渐显现
实际上,在今年国庆节日期间,本地游仍是假期出行主流方式的背景下,露营市场热度延续成为共识,从OTA平台的数据和销量也能印证这种趋势。
2022-09-3013:02
破净股集中在传统行业,12股市盈率低基本面优
目前破净股滚动市盈率在20倍以下的共有246只,估值较低的有振东制药、海航科技、ST广珠等,滚动市盈率均在3倍左右。
2022-09-3012:59
特斯拉否认大幅降价传闻,新能车板块依然被重挫
在特斯拉暴跌带动下,中概股新能源车板块全线暴跌。小鹏汽车盘中一度大跌超11%,股价再创历史新低;蔚来盘中亦重挫超11%,股价创4个月来新低;理想汽车一度跌逾8%。
2022-09-3012:48
自动驾驶大规模商用在即,A股高增长潜力股出炉
9月以来自动驾驶概念股整体表现低迷。截至9月29日,概念股平均跌幅达到7%,跑输同期上证指数。数源科技、东田微、通宇通讯、联合光电、华锋股份等跌幅超过20%。
2022-09-3007:53
  • 证券时报APP
  • 微信公众号
  • 点击下载
    证券时报APP
    发现投资价值
    打开应用