A股又见“天价离婚案”!
4月13日早间,京泉华发布实际控制人权益变动的提示性公告。
公告称,公司于2022年4月12日收到公司控股股东、实际控制人张立品先生、窦晓月女士的通知,获悉张立品先生与窦晓月女士经友好协商,已办理离婚手续,解除婚姻关系,并签署了《离婚协议书》及《表决权委托协议》,进行了相关财产分割和表决权委托。

根据公告显示,上述事宜将导致公司股东权益发生变动,公司实际控制人由张立品先生与窦晓月女士共同控制变为由张立品先生一人控制,但未导致公司控股股东变动、不涉及公司控制权变更。
分手费高达2个多亿
股价再创半年新低
根据窦晓月女士与张立品先生签订的《离婚协议书》,张立品先生将其持有的公司限售流通股15,040,525股一次性无附加条件且通过非交易过户方式划转至窦晓月女士名下。
按照京泉华13日的收盘价14.84元计算,窦晓月女士分走的股票市值约2.23亿元。
除了权益变动之外,公告还称,窦晓月女士已于2022年3月23日到期离任公司副总经理职务,目前未在公司任职,未参与公司的生产经营。自本次婚姻关系解除之日起,窦晓月女士不再是公司实际控制人,其增减持股份不再与张立品先生合并计算。
虽然实控权掌握在实际控制人

事实上,对于该疑问,公告早已表示,本次权益变动完成后,
28天11板
多位股东高位套现
资料显示,
虽然2021年三季报显示,京泉华在三季度的净利润同比下降超0% 但是并没有妨碍该股成为第三代半导体,氮化镓,

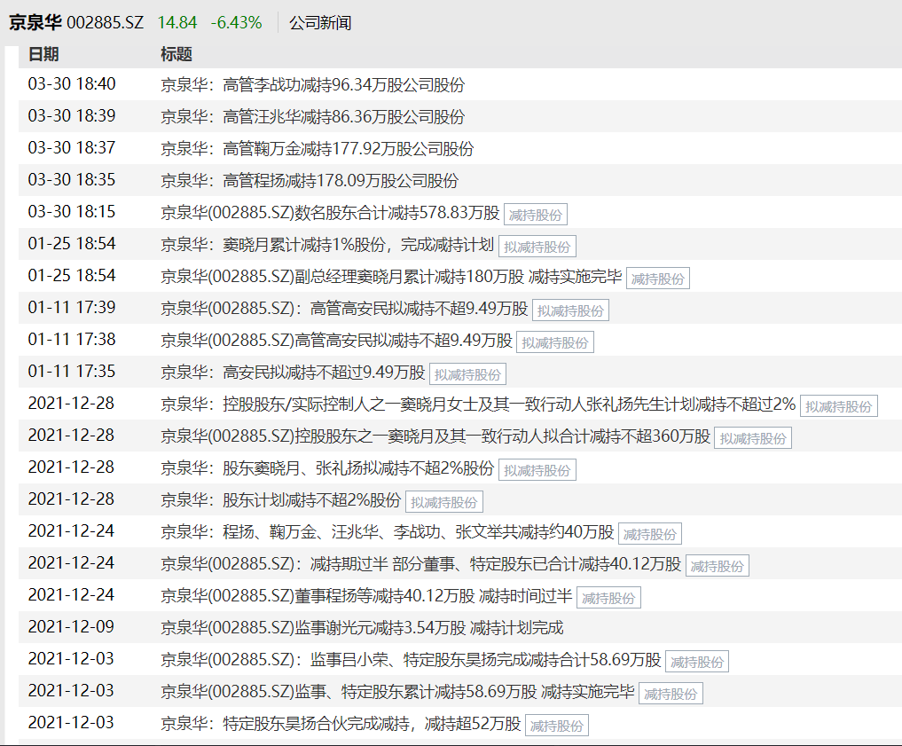
在公司股价上涨的过程中,包括监事、董事、特定股东等纷纷减持。
其中,控股股东窦晓月和一致行动人张礼扬(窦晓月之子)在2021年底宣布拟减持360万股,最终减持180万股,按照期间最低价20元的股价来计算,窦晓月母子已经套现近3600万元。

在多为股东的不断减持之下,京泉华的股价已经几乎回到了去年股价启动前的水平。
创投大佬
旗下基金再度亏损
京泉华的这波下跌,让2020年试图取得上市公司控制权的创投大佬也亏惨了。
根据此前协议,公司控股股东、实际控制人张立品、窦晓月夫妇及其一致行动人张礼扬,持股5%以上股东程扬、鞠万金、汪兆华以及特定股东李战功、安阳市佳盈盛企业管理有限公司(统称转让方)合计持有京泉华1.12亿股股票(占上市公司总股本的62.39%),与深圳市远致富海投资管理有限公司(下称远致富海)签署了《股份转让框架协议》,拟协议转让公司21.66%股权,受让方为远致富海与盐城高新区创业投资有限公司共同设立的有限合伙企业。
根据协议,本次股权转让分两步进行:首先,受让方拟收购上市公司14.57%股权,转让价格为16.90元/股,股份转让总价款为4.43亿元;其次,在双方第一次股份转让交割完成且剩余标的股份达到可转让条件后,受让方拟收购张立品、窦晓月、张礼扬持有的上市公司7.09%股权,此次股权转让价格应不低于15.21元/股且不高于18.59元/股。
第二步,窦晓月、张礼扬在签署第二次股份转让协议的同时,与受让方签署表决权委托协议,将所持上市公司6.33%股权对应的投票权无偿且不可撤销地委托予受让方,使得受让方获得上市公司的控制权。
结果,该交易刚走完第一步,第二步交易嘎然而止了。目前,远致富海以14.57%的持股比例成为京泉华第二大股东。

但是按照今天的收盘价计算,远致富海账面已经出现浮亏。
当然这也不是该基金第一次出现账面亏损。在入股京泉华之后的第二年,京泉华的股价一度跌至10.77元/股,账面一度亏损长达近一年。
更惨的是,去年8月,远致富海总经理程厚博因为利用内幕信息,控制他人账户交易“京泉华”、“麦克奥迪”股票,虽然豪掷700多万,结果不赚反亏,不仅形成直接亏损66万,还被深圳证监局罚了100万。
声明:证券时报力求信息真实、准确,文章提及内容仅供参考,不构成实质性投资建议,据此操作风险自担。
证券时报APP
微信公众号