3月23日,上证指数、深证成指、创业板指早盘探底回升,随后有所回落,午后震荡上扬;科创50指数早盘低开高走,午后持续上扬。截至收盘,上证指数报3286.65点,涨0.64%,成交额4265.65亿元;深证成指报11605.29点,涨0.94%,成交额5941.15亿元;创业板指报2361.41点,涨0.83%,成交额2577.66亿元;科创50指数报1058.99点,涨2.41%,成交额925亿元。沪深两市合计成交10206.8亿元,成交额较上一交易日增加628.3亿元,重返万亿元上方。
资金流向
1.主力资金
Wind统计显示,沪深两市主力资金今日净流出50.96亿元。其中,创业板主力资金净流出36.51亿元,沪深300成分股主力资金净流人54.07亿元,科创板主力资金净流出0.78亿元。
从行业板块来看,申万所属的31个一级行业,今日有8个行业板块主力资金呈现净流入,其中,电子行业板块主力资金净流入最多,净流入金额为50.2亿元;行业板块主力资金净流入居前的还有国防军工、非银金融、计算机,净流入金额分别为16.29亿元、13.2亿元、10.02亿元。23个行业板块主力资金呈现净流出,其中,电力设备行业板块主力资金净流出最多,净流出金额为29.85亿元;行业板块主力资金净流出靠前的还有传媒、医药生物、机械设备、汽车、商贸零售,净流出金额分别为27.09亿元、19.01亿元、11.43亿元、9.49亿元、9.32亿元。

个股来看,今日有1876只个股获主力资金净流入,其中,58股获主力资金净流入超1亿元。科大讯飞获主力资金净流入最多,净流入金额为12.54亿元;主力资金净流入居前的个股还有紫光国微、浪潮信息、景嘉微、东方财富、兆易创新,净流入金额分别为11亿元、10.83亿元、8.33亿元、7.84亿元、7.5亿元。
此外,3054只个股被主力资金净卖出,其中,45股被主力资金净卖出超1亿元。主力资金净流出最多的个股是拓维信息,净流出金额为4.79亿元;主力资金净流出居前的个股还有阳光电源、宁德时代、宣亚国际、利欧股份、中芯国际,净流出金额分别为4.58亿元、4.53亿元、3.94亿元、2.66亿元、2.59亿元。
2.北向资金
北向资金今日成交额为1068.6亿元,成交净买入48.08亿元,连续9个交易日净买入。其中,沪股通净买入27.57亿元,深股通净买入20.51亿元。
活跃个股方面,北向资金今日净买入较多的有东方财富、京东方A、科大讯飞、紫金矿业、兆易创新,净买入金额分别为5.43亿元、4.36亿元、4.2亿元、2.84亿元、2.39亿元。北向资金净卖出较多的有同花顺、紫光国微、中际旭创、工业富联、宁德时代,净卖出金额分别为5.54亿元、5.03亿元、2.65亿元、2.46亿元、1.69亿元。
3.龙虎榜机构资金动向
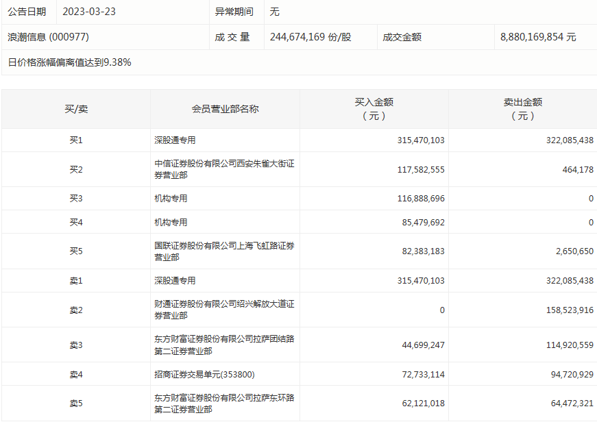
盘后龙虎榜数据显示,今日机构席位资金合计净卖出约1.61亿元。其中,净买入的个股14只,净卖出的个股12只。机构净买入最多的股票是浪潮信息,净买入金额约2.02亿元;机构净买入居前的还有鼎通科技、传音控股、同花顺、冠昊生物、联络互动等股。机构净卖出最多的股票是沪电股份,净卖出金额约2.99亿元;机构净卖出居前的还有芯原股份、紫光国微等股。
浪潮信息今天涨停。盘后数据显示,2个机构出现在龙虎榜单上,合计净买入约2.02亿元;中信证券股份有限公司西安朱雀大街证券营业部买入1.18亿元,同时卖出46.42万元;东方财富证券股份有限公司拉萨团结路第二证券营业部买入4469.92万元,同时卖出1.15亿元。
涨跌停个股
截至收盘,沪深两市合计2001只个股上涨,2724只个股下跌,平盘个股211只,停牌的个股7只。不含当日上市新股,共有27只个股涨停,6只个股跌停。连续涨停天数看,宿迁联盛已连收3个涨停板,连续涨停板数量最多。
从收盘涨停板封单量来看,爱康科技最受追捧,收盘涨停板封单有4328.32万股;其次是鸿博股份、世纪华通,涨停板封单分别有2817.58万股、2305.36万股。以封单金额计算,鸿博股份、浪潮信息、紫光国微等涨停板封单资金较多,分别有4.41亿元、4.24亿元、2.94亿元。
行业板块、概念方面看,行业板块跌多涨少。其中,电子、计算机、通信、建筑装饰、证券、保险等行业板块涨幅靠前;AI芯片、CPO概念、天基互联、氮化镓、PCB、半导体概念等概念走势活跃。纺织服装、钢铁、美容护理、商贸零售、房地产、电力设备、环保、物流等行业板块跌幅居前;盲盒经济、钛白粉、社区团购、汽车一体化压铸、供销社概念、租售同权、跨境电商、新型城镇化、水产养殖等概念走势较弱。涨停个股主要集中在电子、计算机、医药生物、电力设备、化工等行业。