11月23日,上证指数早盘窄幅震荡,午后有所回升,之后回落;深证成指、创业板指、科创50指数早盘震荡下探,午后止跌回升,一度翻红,之后再度回落。截至收盘,上证指数报3096.91点,涨0.26%,成交额3564.01亿元;深证成指报10972.81点,跌0.27%,成交额4740.79亿元;创业板指报2340.34点,跌0.14%,成交额1658.43亿元;科创50指数报1017.02点,跌0.08%,成交额571亿元。沪深两市合计成交8304.8亿元,成交额较上一交易日减少541.47亿元。
资金流向
1.主力资金
Wind统计显示,沪深两市主力资金今日净流出181.79亿元。其中,创业板主力资金净流出65亿元,沪深300成分股主力资金净流出31.76亿元,科创板主力资金净流出15.39亿元。
从行业板块来看,申万所属的28个一级行业,今日有7个行业板块主力资金呈现净流入,其中,电气设备行业板块主力资金净流入最多,净流入金额为18.78亿元;行业板块主力资金净流入居前的还有公用事业、建筑装饰、银行,净流入金额分别为7.18亿元、4.93亿元、4.88亿元。21个行业板块主力资金呈现净流出,其中,医药生物行业板块主力资金净流出最多,净流出金额为68.07亿元;行业板块主力资金净流出靠前的还有电子、计算机、传媒、通信、机械设备,净流出金额分别为40.5亿元、26.86亿元、14.16亿元、13.44亿元、8.17亿元。

个股来看,今日有1626只个股获主力资金净流入,其中,30股获主力资金净流入超1亿元。阳光电源获主力资金净流入最多,净流入金额为4.26亿元;主力资金净流入居前的个股还有永太科技、中国交建、隆基绿能、宁德时代、黑芝麻,净流入金额分别为3.83亿元、3.34亿元、2.69亿元、2.31亿元、2.17亿元。
此外,3236只个股被主力资金净卖出,其中,39股被主力资金净卖出超1亿元。主力资金净流出最多的个股是中国医药,净流出金额为2.83亿元;主力资金净流出居前的个股还有众生药业、北方华创、康希诺、药明康德、中国平安,净流出金额分别为2.59亿元、2.5亿元、2.48亿元、2.46亿元、2.39亿元。
2.北向资金
北向资金今日成交额为911.83亿元,成交净买入15.65亿元。其中,沪股通净买入25.12亿元,深股通净卖出9.47亿元。
活跃个股方面,北向资金净买入较多的有隆基绿能、贵州茅台、以岭药业、比亚迪、通威股份,净买入金额分别为4.71亿元、2.13亿元、1.33亿元、1.27亿元、1.17亿元。北向资金净卖出较多的有恩捷股份、赣锋锂业、五粮液、中国联通、招商银行,净卖出金额分别为19.85亿元、2.14亿元、2亿元、1.71亿元、1.55亿元。
3.龙虎榜机构资金动向
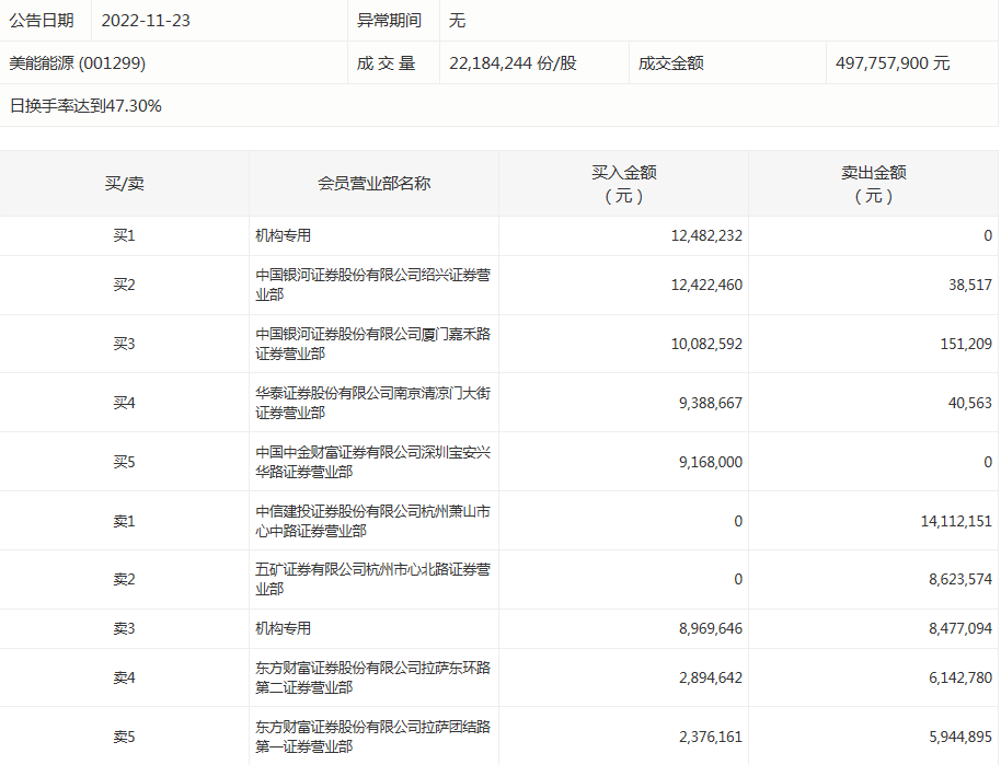
盘后龙虎榜数据显示,今日机构席位资金合计净卖出约9739.66万元。其中,净买入的个股4只,净卖出的个股10只。机构净买入最多的股票是金陵药业,净买入金额约5872.4万元;机构净买入居前的还有美能能源、凯瑞德等股。机构净卖出最多的股票是凯文教育,净卖出金额约6138.45万元;机构净卖出居前的还有粤传媒、昊志机电、榕基软件等股。
美能能源今天涨停。盘后数据显示,2个机构出现在龙虎榜单上,合计净买入1297.48万元;中国银河证券股份有限公司厦门嘉禾路证券营业部买入1008.26万元,同时卖出15.12万元;华泰证券股份有限公司南京清凉门大街证券营业部买入938.87万元,同时卖出4.06万元。
涨跌停个股
截至收盘,沪深两市合计1631只个股上涨,3102只个股下跌,平盘个股136只,停牌的个股5只。不含当日上市新股,共有50只个股涨停,37只个股跌停。连续涨停天数看,ST大集已连收7个涨停板,连续涨停板数量最多。
涨停股中,从收盘涨停板封单量来看,华控赛格最受追捧,收盘涨停板封单有6614.98万股;其次是通润装备、高乐股份,涨停板封单分别有3685.94万股、3568.32万股。以封单金额计算,通润装备、永顺泰、中成股份等涨停板封单资金较多,分别有3.87亿元、3.76亿元、3.58亿元。
行业板块、概念方面看,行业板块跌多涨少,其中,电气设备、建筑装饰、煤炭、石油石化、钢铁等行业板块涨幅靠前;特高压、TOPCon电池、储能、钠离子电池、复合集流体等概念走势活跃。医药生物、计算机、通信、电子、商贸零售、农林牧渔、纺织服装、教育等行业板块跌幅居前;新冠药物、CRO、Web3.0、中药、电子身份证、数据安全、职业教育、数字货币、基因测序等概念走弱。涨停个股主要集中在建筑装饰、机械设备、计算机、汽车、电气设备等行业。