每日经济新闻
2026-03-30 15:54
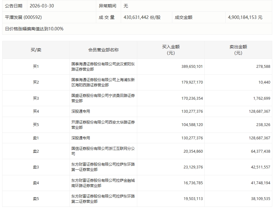
人民财讯3月30日电,平潭发展今日早盘快速涨停,全天成交金额49亿元;盘后数据显示,多家活跃游资买入。国泰海通证券武汉紫阳东路证券营业部为买一,买入3.90亿元;国泰海通证券上海浦东新区海阳西路证券营业部、国盛证券宁波桑田路证券营业部分别买入1.8亿元、1.7亿元。此外,开源证券西安太华路证券营业部买入1.05亿元。以上营业部卖出金额均较少。
