7月24日,上证指数、深证成指、创业板指、科创50指数早盘探底回升,随后回落下探,午后持续走低。截至收盘,上证指数报3164.16点,跌0.11%,成交额2601.19亿元;深证成指报10747.79点,跌0.58%,成交额3988.04亿元;创业板指报2146.93点,跌0.75%,成交额1618.59亿元;科创50指数报950.55点,跌0.52%,成交额443.66亿元。沪深两市合计成交6589.23亿元,成交额较上一交易日减少520.34亿元。
资金流向
1.主力资金
Wind统计显示,沪深两市主力资金今日净流出189.71亿元。其中,创业板主力资金净流出47.13亿元,沪深300成分股主力资金净流出64.39亿元,科创板主力资金净流出5.34亿元。
从行业板块来看,申万所属的31个一级行业,今日仅有轻工制造、计算机、国防军工3个行业板块主力资金呈现净流入,净流入金额分别为2.36亿元、1.85亿元、1.82亿元。28个行业板块主力资金呈现净流出,其中,有色金属行业板块主力资金净流出最多,净流出金额为22.49亿元;行业板块主力资金净流出靠前的还有电力设备、房地产、汽车、食品饮料、化工、电子,净流出金额分别为21.18亿元、18.08亿元、15.84亿元、15.11亿元、13.16亿元、11.7亿元。

个股来看,今日有1741只个股获主力资金净流入,其中,14股获主力资金净流入超1亿元。浪潮信息获主力资金净流入最多,净流入金额为7.17亿元;主力资金净流入居前的个股还有鸿博股份、沪电股份、云赛智联、中国船舶、中兴通讯,流入金额分别为5.71亿元、3.9亿元、2.8亿元、2.6亿元、2.3亿元。
此外,3248只个股被主力资金净卖出,其中,35股被主力资金净卖出超1亿元。主力资金净流出最多的个股是天齐锂业,净流出金额为6.56亿元;主力资金净流出居前的个股还有科大讯飞、中际旭创、东方财富、荣盛发展、赣锋锂业,净流出金额分别为5.85亿元、4.39亿元、4.26亿元、4.19亿元、4.14亿元。

2.北向资金
北向资金今日成交额为871.26亿元,成交净卖出51.43亿元。其中,沪股通净卖出6.59亿元,深股通净卖出44.84亿元。
活跃个股方面,北向资金今日净买入较多的有科大讯飞、恒瑞医药、金山办公、贵州茅台、中际旭创,净买入金额分别为3.27亿元、2.72亿元、1.83亿元、1.64亿元、0.68亿元。北向资金净卖出较多的有比亚迪、宁德时代、山西汾酒、招商银行、立讯精密,净卖出金额分别为3.65亿元、2.72亿元、2.69亿元、2.3亿元、2.23亿元。
3.龙虎榜机构资金动向
盘后龙虎榜数据显示,今日机构席位资金合计净买入约3091.44万元。其中,净买入的个股11只,净卖出的个股14只。机构净买入最多的股票是赛维时代,净买入金额约1.31亿元;机构净买入的居前还有星源卓镁、亚联发展、焦点科技等股。机构净卖出最多的股票是荣盛发展,净卖出金额约7737.38万元;机构净卖出居前的还有兴民智通、云赛智联、甬矽电子等股。
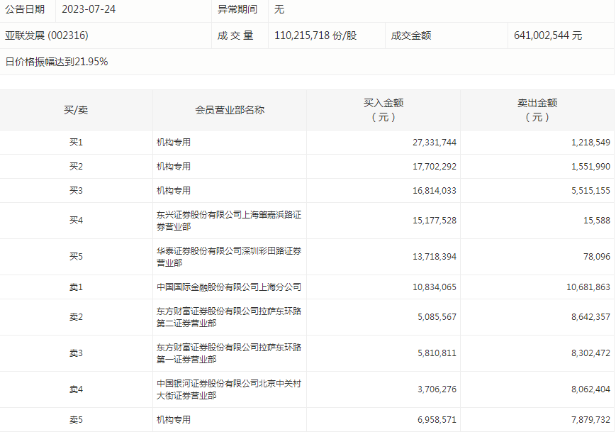
亚联发展今天涨停。盘后数据显示,4个机构出现在龙虎榜单上,合计净买入约5264.12万元;东兴证券股份有限公司上海肇嘉浜路证券营业部买入1517.75万元,同时卖出1.56万元;中国国际金融股份有限公司上海分公司买入1083.41万元,同时卖出1068.19万元。
涨跌停个股
截至收盘,沪深两市合计2390只个股上涨,2430只个股下跌,平盘个股194只,停牌的个股12只。不含当日上市新股,共有27只个股涨停,14只个股跌停。连续涨停天数看,万方发展、金科股份、*ST西发、麦趣尔、广西广电均已连收2个涨停板,连续涨停板数量最多。
从收盘涨停板封单量来看,金科股份最受追捧,收盘涨停板封单有3631.28万股;其次是景峰医药、宏达新材,涨停板封单分别有1855.48万股、1588.41万股。以封单金额计算,云赛智联、鸿博股份、亚威股份等涨停板封单资金较多,分别有1.39亿元、1.37亿元、1.07亿元。
行业板块、概念方面看,行业板块跌多涨少。其中,通信、计算机、医药生物、军工、建筑装饰、燃气等行业板块涨幅靠前;算力概念、国资云概念、全息技术、彩票概念、中药概念、液冷概念等概念走势活跃。有色金属、建筑材料、化工、农林牧渔、美容护理、电力设备、煤炭、商贸零售等行业板块跌幅居;草甘膦、氟化工、水产养殖、供销社概念、猪肉概念、减速器、钙钛矿电池、粮食概念等概念走势较弱。涨停个股主要集中在食品饮料、计算机、商贸零售等行业。