今年暴涨400%大牛股,控股股东股份全遭冻结!
来源:证券时报网作者:叶玲珍2023-06-15 08:06
字号
超大
标准

继被强制平仓后,“英伟达概念股”鸿博股份(002229)控股股东寓泰控股所持股份再遭司法冻结。

6月14日晚间,鸿博股份公告,寓泰控股所持2873.51万股股份被河南省开封市鼓楼区人民法院、济宁市任城区人民法院司法冻结,叠加5月份已被四川省巴中市中级人民法院司法冻结的4094万股股份,寓泰控股名下持股已全部处于冻结状态。与此同时,其一致行动人辉熠贸易所有持股此前亦被冻结,二者累计被冻结股数达1.1亿股,占总股本的22.01%。

公告显示,本次遭司法冻结的股份冻结期限为3年,解除日期为2026年6月12日。对于前述股权被司法冻结的原因,鸿博股份并未在公告中披露。公司表示,冻结股份不涉及业绩补偿义务,不会对公司经营及治理产生重大直接影响,亦不会导致实控人发生变更。

鸿博股份因与英伟达等在北京合作成立AI中心被市场热捧,股价大幅攀升,最新报收35.07元/股,市值175亿元,今年以来涨幅达427%。

二级市场表现亮眼,但鸿博股份股权层面却频起风波。

今年4月,鸿博股份发生实控人变更,实控人毛伟已将所持寓泰控股及辉熠贸易全部股份分别转让给黎小林、杨凯,同时黎小林、杨凯又将所持全部股份表决权反向委托给毛伟,由此三人构成一致行动人关系,构成新任实控人团队。目前,杨凯、黎小林仅持有股份却不拥有表决权,而毛伟仅持有表决权而不持有股份,且三人均不在公司任职,一度引发交易所关注。

实控人变更一个月后,鸿博股份于5月10日传来控股股东部分股份被司法冻结的消息,累计被冻结股份数为8094万股,占总股本的16.24%,占其所持股份的72.75%。次日,公司股价跌停。

因寓泰控股部分股份通过财通证券信用账户持有,在前述司法冻结后,财通证券宣布寓泰控股信用账户的融资融券合约提前到期,并在6月12日对账户中的股份进行强制平仓,累计卖出158.87万股,卖出金额超6000万元,用以偿还寓泰控股在财通证券的融资款。

二级市场方面,近两日鸿博股份一改上涨走势,分别下跌4.76%、6.8%。

值得一提的是,鸿博股份日前曾遭“乌龙退市”,引发市场关注。6月13日,华创证券投教基地公众号发布一则题为“关于鸿博股份进入退市整理期交易的风险提示公告”的文章,但文中内容实为鸿博股份被列入深交所重点监控证券名单,系“题不对文”。目前,上述文章已被删除。华创证券客服表示,造成前述情况的原因是标题编辑错误。

据公开资料,鸿博股份被交易所重点监控期间暂定为2023年6月13日-6月28日,在此期间,深交所将对鸿博股份重点监控,对频繁大量参与该证券交易、存在异常交易行为的投资者从严监管。

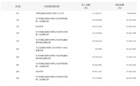
龙虎榜数据显示,6月14日鸿博股份前五大买入及卖出席位多为游资,东方财富“拉萨天团”霸榜,其中东财拉萨团结路第一营业部分别位列买2、卖3,东财拉萨东环路第一营业部位列买4、卖5,东财拉萨金融城南环路营业部分别位列买5、卖2。与此同时,机构专用席位位列买3、卖4,买入及卖出金额分别为3995.14万元、2760.59万元。

从基本面来看,鸿博股份既有的安全印务、彩票新渠道等业务增长乏力,2022年营收为5.46亿元,同比下降5.01%;净利润为亏损7506.95万元,同比由正转负;扣非后净利润为-8785.82万元,已连续五年为负。今年一季度公司净利为-1825.11万元,仍处于亏损状态。

在市场颇为关注的AI领域,鸿博股份近日密集发声透露进展。公司表示,与英伟达等合作成立的北京AI创新赋能中心已投入实际运营,相关产品与服务处于测试推广阶段。AI业务核心子公司英博数科于2023年5月初产生营业收入与利润,在手订单涉及算力出租、 一站式采购、产业实验室等多方面。

校对:廖胜超

责任编辑: 彭勃
声明:证券时报力求信息真实、准确,文章提及内容仅供参考,不构成实质性投资建议,据此操作风险自担
下载"证券时报"官方APP,或关注官方微信公众号,即可随时了解股市动态,洞察政策信息,把握财富机会。
用户评论
登录后可以发言
网友评论仅供其表达个人看法,并不表明证券时报立场
发表评论
暂无评论
时报热榜
换一换
    热点视频
    换一换