英飞拓今天涨停 两机构合计净卖出3411.27万元
来源:证券时报网作者:阙福生2022-12-23 17:50
字号
超大
标准
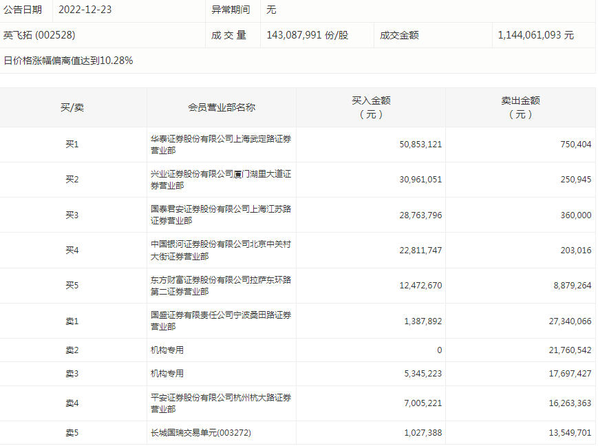
英飞拓今天涨停。盘后数据显示,2个机构出现在龙虎榜单上,合计净卖出3411.27万元。

证券时报网讯,英飞拓今天涨停。盘后数据显示,2个机构出现在龙虎榜单上,合计净卖出3411.27万元;华泰证券股份有限公司上海武定路证券营业部买入5085.31万元,同时卖出75.04万元。国盛证券有限责任公司宁波桑田路证券营业部买入138.79万元,同时卖出2734.01万元。

责任编辑: 杨国强
声明:证券时报力求信息真实、准确,文章提及内容仅供参考,不构成实质性投资建议,据此操作风险自担
下载"证券时报"官方APP,或关注官方微信公众号,即可随时了解股市动态,洞察政策信息,把握财富机会。
用户评论
登录后可以发言
网友评论仅供其表达个人看法,并不表明证券时报立场
发表评论
暂无评论
时报热榜
换一换
    热点视频
    换一换