蓄势待发!科创板做市商陆续建仓,做市资金有望加速进场
来源:中国基金报作者:闫晶滢2022-10-20 18:24
字号
超大
标准
紧锣密鼓之下,科创板做市商业务即将开闸。

紧锣密鼓之下,科创板做市商业务即将开闸。

近日,上交所方面介绍,经证监会核准,已有14家证券公司取得了上市证券做市交易业务资格,标志着部分证券公司已具备开展科创板股票做市交易业务的条件。上交将根据符合条件的证券公司申请,完成做市商对特定科创板股票开展做市交易业务的备案,做市商将在完成备案后开展科创板股票做市交易业务。

科创板做市业务即将推出,首批试点券商准备情况如何?科创板做市将为证券行业乃至整个资本市场带来怎样的影响?中国基金报记者近期采访多家“备战”科创板做市业务的券商做市业务负责人了解到,目前获批券商多已完成科创板做市业务上线准备,业务各项环节已准备就绪,更有券商已开始陆续建仓,为做市业务正式开展储备“股票池”。

获批券商紧密筹备中

“新投资人”批量建仓

科创板做市商名单持续扩容,业务上线指日可待。

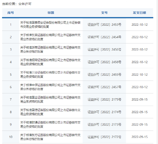
上周,证监会再度批复6家上市券商的科创板做市商资格,分别为中信证券、国泰君安、招商证券、兴业证券、东吴证券、浙商证券。加上首批8家获批的券商,目前已有14家券商喜提科创板做市商资格。

近期上交所公开表示,将根据符合条件的证券公司申请,完成做市商对特定科创板股票开展做市交易业务的备案,并通过官方网站相关专栏向市场公布。做市商将在完成备案后开展科创板股票做市交易业务。

值得注意的是,做市商在正式开展做市业务前需要买入充足的股票,为做市业务正式开展准备“股票池”。因此,在上交所完成备案向市场公告前,做市商需要逐步买入建仓,做市商作为新的市场参与主体,增量资金有望加速进场。结合上交所制定的做市商报价义务看,为满足全天大部分时间参与报价都要求,做市商或需要为做市业务大量备券。

与此同时,获批券商的相关业务开展筹备也在持续进行中。根据监管要求,获批券商需依法配备有关人员、业务设施、信息系统和经营场所,并相应修改公司章程、向证监局报备以及完成工商变更登记,并向证监会申请换发经营证券期货业务许可证,完成相关手续后方可开展业务。

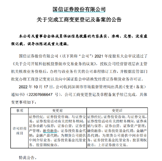
例如,国信证券就在近期发布公告称,其已收到深圳市市场监督管理局出具的《变更(备案)

通知书》,公司工商变更登记及章程备案手续已完成。变更后,国信证券公司章程中新增“上市证券做市交易”的内容。

财通证券相关人士表示,公司高度重视科创板做市业务,积极响应交易所和监管要求,随着获得首批科创板做市商资格,公司在业务组织架构、团队搭建、系统建设、相关制度等方面都做了积极准备。包括成立专门的做市业务二级部、招募具备相关工作经验或学历背景的做市团队成员、搭建做市业务系统、制定与科创板做市业务相关的业务实施细则、内部管理办法和业务流程等。

国金证券做市交易部负责人称,近期公司已通过四川证监局关于上市证券做市交易业务现场检查,目前已完成经营证券期货业务许可证换领工作,近期将向上交所提交科创板股票做市交易业务首次备案相关材料并签署做市协议。在正式展业前,国金证券还将对科创板做市业务技术系统进行全面排查,确保技术系统稳定安全,业务可平稳、有序运行和开展,并按照监管要求,积极推进做市融券机制的落地、首批做市股票的建仓等工作。

东吴证券亦表示,目前该公司已组建一支量化交易经验丰富的6人做市交易团队,后续将依据业务开展的实际情况继续扩充壮大。在技术支持方面,公司建立了由恒生的宽途做市交易管理系统、自营O3投资管理系统、公司风控监控平台以及外围估值、报送等系统构成的完整做市系统,做市交易部门也自研了程序化做市策略及相应的被动交易回测框架。目前基本完成首次做市备案报备工作,业务具体上线时间视监管及交易所具体安排而定。

据兴业证券做市业务负责人介绍,其公司高度重视科创板股票做市业务的筹备工作,在金融衍生产品部下设做市服务处。2022年初,金融衍生产品部从受邀参加监管机构科创板做市动员会起,始终与监管部门保持积极沟通,投入多名做市业务经验丰富的人员进行筹备工作,紧锣密鼓做好资格申请各项工作。目前,信息系统、业务制度、人员配备、风控体系均已完成搭建,已具备开展科创板做市业务的各项条件。

中信证券股权衍生品线行政负责人邓力表示,目前,各项内部准备工作已准备就绪,包括人员、技术系统、内部制度、流程管理、风险控制、合规管理、应急处置预案等。公司资本金充足,重视科创板做市业务,会切实履行做市商义务,为市场提供流动性。

国泰君安做市业务负责人表示,前期公司在原有做市团队中选派业务骨干,组建了专门的科创板股票做市小组,负责科创板股票的做市报价以及风险对冲。团队对科创板的特点进行了深入研究,结合最新的人工智能技术,开发了针对性的做市报价模型。我司IT团队升级了做市报价系统,强化了风险预警功能,可高强度地为多标的持续提供流动性。

在获得证监会批复后,国泰君安已通过上海证监局的现场检查,目前正向证监会申请换发经营证券期货业务许可证。同时公司已经初步选定首批做市标的,并准备好了相关备案材料,随时可以按照上交所要求提交。“由于同普通投资者一样,科创板做市商当天买入的股票需要第二天才能卖出,做市商需要构建做市底仓后,才能开始为标的股票提供买卖双边报价,为市场提供流动性,我司做市底仓也已经在建仓操作中。”该负责人表示。

华泰证券科创板做市交易负责人表示,从科创板做市交易业务开放申请至今,公司高度重视该业务的筹备与进展。从人才、策略、系统、风控等方面进行了充分的筹备与建设,努力确保在科创板做市业务上为市场提供优质的服务。目前的筹备工作都已基本完成,所有的人员、系统、策略都已准备就绪,随时可以开展科创板做市业务。

申万宏源做市业务负责人称,目前公司已按照证监会批复要求,完成上海证监局现场验收工作,换领经营证券期货业务许可证,与上海证券交易所签订做市协议,完成首批做市品种的筛选。后续公司还将按照监管的进度,积极推进做市备案、做市融券机制的落地,争取成为首批开展业务的做市商。

在前期业务开展及标的选择方面,招商证券相关业务负责人介绍,将主要根据业务需要,重点为公司作为保荐机构且在持续督导期内的科创板股票提供做市服务。其次,公司将从公司基本面、行业代表性和二级市场流动性均较好的科创50指数成分股中选取做市标的。公司还将结合市场需求,为科创板市场亟需改善流动性的股票提供做市服务。

银河证券做市业务部门负责人则向记者表示,其公司自2021年初就对科创板做市业务进行了提前布局和投研准备,在组织架构、人员、系统、风控、授权和制度等方面进行了全面准备。“目前公司已完成科创板做市业务系统上线,业务各项环节已准备就绪,将按照交易所相关安排完成做市证券报备并正式开始做市。”

在做市交易启动后,券商需要注意做好全面风险的管控,防范市场风险、流动性风险和操作风险等风险,尤其需要做好库存股管理,建立和完善敞口对冲手段。该负责人表示,在严守风控合规底线的基础上,券商应防范可能发生的利益冲突、利益输送风险。在技术系统方面,需要不断优化,提升报价的效率,优化做市的策略,充分发挥券商作为机构投资者在市场稳定性和流行性方面的专业作用。

盘活“保荐+跟投”业务持仓

增强综合金融服务能力

做市商制度在国内早有实践,早在2014年新三板做市商制度就已出炉,发展至今已有8年时间,为科创板做市制度积累了宝贵经验。此外,目前券商亦参与了上市基金做市业务、期权做市业务等。

中信建投证券方面介绍,目前其做市业务已经覆盖场内期权、商品期货、上市基金、公募Reits等多个领域,此次获批科创板做市业务资格将进一步丰富场内做市品种,实现场内全品种做市覆盖。做市业务有助于促进证券公司建立完整的科创板服务链条,在满足信息隔离要求的前提下,与其他业务形成协同发展效应,提高自有资金和证券的使用效率,增强综合金融服务能力和业务竞争力,促进证券公司高质量发展。

此外,做市业务作为风险中性的资本中介业务,符合当前券商发展的新趋势,对证券公司业务高质量发展起到了积极作用。科创板股票做市业务有助于提升做市商对相关做市标的股票的有效定价能力,积累股票做市交易经验,并逐步形成券商做市业务独有的核心竞争优势。

东吴证券做市业务负责人称,做市交易业务的盈利来源主要为交易佣金、买卖价差和持仓收益。业务整体丰富了证券公司去方向化自营业务的选择,有效降低自营投资业绩的波动性,提升收益稳定性及韧性,抗周期能力得以进一步提升。做市交易业务有助于带来公司科创板股票等交易业务增量,丰富机构客户和中高净值客户服务体系,盘活“保荐+跟投”业务持仓。

此外,做市交易业务是联动证券公司投行项目承揽、战略跟投、研究定价、场外期权创设等多条业务线,综合考验了证券公司的资本实力、交投能力、技术水平、风控素质,有利于扩大行业影响力。资本实力雄厚、技术底子深厚、交投能力领先、板块券源充足的头部券商将更为受益。相对的,对于券源较少的做市商而言,做好对做市证券存货风险的控制具有一定的挑战性。

国泰君安做市业务负责人则提出,通过为上市公司提供做市服务,可以使得证券公司和上市公司之间保持长期良好的沟通渠道、提高客户粘性、延续服务周期。帮助证券公司及时了解上市公司的各类投融资需求,增加客户的满意度,为客户在一、二级市场上的后续金融服务做好准备。

相较于海外和新三板,科创板允许的买卖价差更低,做市商能否实现盈利?对此,招商证券相关业务负责人认为,在业务开展初期,做市商的首要目标是维护市场稳定、为市场提供流动性,盈利来源可能主要是交易所做市服务激励。随着做市标的数量和业务规模的增加以及风险对冲手段的丰富,做市策略和系统的持续优化将使做市商可以获得除交易所激励以外的如做市标的组合持仓及交易的盈利。

国金证券做市交易部负责人同样指出,对于券商而言,科创板股票做市交易业务可为券商自身承销保荐的科创板项目提供做市报价服务,实现项目服务从一级市场向二级市场的延伸,拓展了原有的客户服务链条,增强了券商的综合金融服务能力。科创板做市交易双向报价获取日内价差收益的模式,丰富了券商自有资金业务的收入维度,为业务收入来源提供了新的拓展渠道。

与此同时,该负责人也坦言称,科创板做市业务将给券商带来一定挑战。由于科创板做市业务试点是一项新业务,属混合做市方式,与现有新三板做市方式相比有较大的差异。由于科创板股票的交投相较于新三板做市股票更为活跃,做市商需要更为积极地为市场提供公允报价,故对于做市商的定价能力、交易组织能力带来了一定的挑战,同时做市商持有的库存股会存在一定的波动风险,做市业务是否盈利存在一定的不确定性。

申万宏源做市业务负责人认为,开展科创板做市业务有助于优化公司业务结构,提高公司自有资金和证券的使用效率,有望成为公司新的业绩增长点。但科创板做市业务作为一项新兴业务,也对证券公司的综合能力提出较高要求,尤其是对证券公司的风险控制能力和技术安全管理能力提出挑战。

“作为一项全新业务,参与的券商都面临巨大的挑战,包括业务系统、风控体系的搭建和完善,以及由于国内资本市场制度的差异性,海外业务发展经验在国内市场最终落地效果依然未知,业务潜在可持续的盈利模式需要一同探索。”财通证券相关人士表示,就公司科创板做市而言,将秉持稳健发展思路,重视能力打造,业务规模会根据实际情况逐步开展。

华泰证券科创板做市交易负责人认为,随着做市制度的成熟,综合做市的理念有望成为黏合做市商各业务条线的胶水,做市商的综合报价效率将得到显著提升。科创板做市买卖价差偏窄、暂无印花税减免、股票合格出借人少是对做市商的挑战。但与此同时,相关制度与系统也在不断的完善,在科创板做市业务中,眼前的挑战也可能就是未来的机遇。

改善“试验田”流动性

充分激发市场活力

自2019年开市以来,科创板稳步发展至今已三年有余,稳步试点注册制,统筹推进发行、上市、信息披露、交易、退市等基础制度改革,各项制度安排经受住了市场检验。Wind数据显示,截至10月19日,科创板市场已有479家上市公司,总市值接近6万亿元。

“海外主流交易所大多采用混合交易制度,将做市制度引入科创板,标志着资本市场交易制度的进一步完善和成熟。”申万宏源做市业务负责人指出,科创板做市制度符合注册制改革趋势,做市商的引入不仅丰富了科创板的交易制度,也在竞价交易的基础上注入新的流动性,对科创板流动性的改善大有裨益。

中信证券股权衍生品线行政负责人邓力表示,做市商通过做市交易,可促进科创板股票的交易活动,为标的注入流动性。促进合理定价,抑制价格操纵,使投资者关注上市证券标的价值,促进价格发现与合理定价,吸引长期投资者,且避免交易过程中短暂的供需失衡引起上市证券价格大幅波动。

“从国际成熟市场运行规律来看,一个股票市场只有具备充足的流动性,投资者才愿意参与,如美国纳斯达克市场新上市公司都必须有做市商参与交易。”兴业证券做市业务负责人介绍,做市商的参与有助于收窄股票的买卖差价,降低大单交易对市场的冲击,提高市场定价效率,增加市场的流动性。

2022年以来,科创板日均成交额约为468亿,与成熟企业较多的主板市场的日均万亿级别成交存在差距。做市商可以充分了解市场参与者信息,叠加多个做市商之间的良性竞争,在衡量自身风险和收益的基础上进行报价,有利于促使证券价格向实际价值回归,有利于改善市场的流动性、促进低流动性个股的价格回归合理位置,为科创板的长远健康发展提供必要支持。

银河证券做市业务部门负责人称,从科创板进行试点,推出做市商机制,是科创板基础制度的重大优化,是注册制发行制度的重要补充:一方面会改善科创板市场参与者的结构,激发市场活力,在提升交易效率的同时为市场流动性提供有力保障;另一方面也会增加市场订单宽度和深度,平抑股价波动,促进市场价格向企业内在价值回归,增强市场稳定性,使得长期资金能够更好的配置科创板股票,激发科创板市场活力,为全面注册制推出后相关制度推进积累经验。

国金证券做市交易部负责人称,科创板上市企业主要为科技创新型企业,企业前期研发投入较高,成长的不确定性较大,投资风险较高。故投资者对部分科创板企业的内在价值预期一致性和稳定性不佳,导致整体的交投活跃度下降。在科创板引入做市商制度,首先将改善科创板市场流动性,提升投资者交易连续性,从而提升市场成交活跃度。做市商为市场提供上市公司的参考报价,稳定市场对企业二级市场价格的预期,从而提升投资者的交易参与意愿。

国泰君安做市业务负责人表示,随着中国资本市场上市注册制不断完善,科创板股票的上市数量也日趋增多,由此带来部分科创板股票的流动性较上市初期出现了明显的下降。由流动性的缺失,不仅容易造成市场短期内的非理性暴涨暴跌,也会对市场参与者造成较大的影响。目前交易所适时推出科创板做市业务,能够有效的提高做市标的的流动性指标,降低证券市场价格的波动,提高了稳定性,使得长期资金能够更好的配置科创板股票,增加相关标的股票的交投活跃度。

“当前恰逢科创板创设三年大关,对科创板整体而言在市场规模、交易活跃度及在整个国内资本市场中的地位等方面都是一个重要分水岭。但同时个股交易活跃度分化严重,价值发现、资源配置、持续增长的良性循环依然有待挖掘。”财通证券相关人士指出,科创板做市商业务制度引入后,做市商既作为市场重要参与者积极提供流动性,进一步活跃交易,又作为具备专业能力的价值发现者,将积极纠偏非理性交易并向合理价值引导,通过做活、做优、做大科创板,促进科创板健康持续发展。

对于整个证券行业而言,做市商对促进市场的流动性起到了很大的作用,在构建多层次资本市场中扮演着重要的角色,可以更加直接的服务于实体经济。中信建投证券方面表示,作为国内上市证券做市初期的试点业务,需要各方参与者通力协作,积极营造良好的业务开展环境。“相信通过监管部门、做市商和机构投资者的共同努力,大家凝心聚力、紧密配合,会使科创板做市业务持续助力我国资本市场的长期健康发展,全力服务于实体经济。”

华泰证券科创板做市交易负责人指出,做市商制度是经过海外验证的,注册制市场条件下的较优选择。做市商制度在海外市场历史悠久,海外知名的证券交易所如伦交所、纽交所、纳斯达克等均采用了与科创板一致的混合交易机制,普通投资者与做市商均可向市场发送报价指令的交易机制。做市商制度在科创板的实施将进一步发挥科创板“改革试验田”作用,推动我国资本市场进一步向成熟迈进。

责任编辑: 高蕊琦
声明:证券时报力求信息真实、准确,文章提及内容仅供参考,不构成实质性投资建议,据此操作风险自担
下载"证券时报"官方APP,或关注官方微信公众号,即可随时了解股市动态,洞察政策信息,把握财富机会。
用户评论
登录后可以发言
网友评论仅供其表达个人看法,并不表明证券时报立场
发表评论
暂无评论
时报热榜
换一换
    热点视频
    换一换