数据复盘|主力资金撤离电子、计算机等行业 龙虎榜机构抢筹九安医疗等
来源:证券时报网作者:阙福生2022-01-11 17:57

1月11日,沪深两市股指集体下跌,截止收盘,上证指数报3567.44点,跌0.73%,成交额4413.01亿元;深证成指报14223.35点,跌1.27%,成交额6144.38亿元;创业板指报3056.15点,跌1.28%,成交额2346.45亿元;科创50指数报1294.40点,跌1.81%,成交额487.05亿元。沪深两市合计成交10557.39亿元,成交额连续8个交易日突破1万亿元。

资金流向

1.主力资金

Wind统计显示,沪深两市主力资金今日净流出359.67亿元,连续23个交易日净流出。其中,创业板主力资金净流出93.54亿元,沪深300成分股主力资金净流出89.51亿元,科创板主力资金净流出8.93亿元。

从行业板块来看,申万所属的28个一级行业,今日仅有银行、医药生物2个行业板块主力资金呈现净流入,净流入金额分别为17.94亿元、7.26亿元。26个行业板块主力资金呈现净流出,其中,电子行业板块主力资金净流出最多,净流出金额为55.28亿元;行业板块主力资金净流出靠前的还有计算机、传媒、机械设备、汽车、食品饮料、电气设备,净流出金额分别为40.54亿元、34.32亿元、32亿元、26.58亿元、24.41亿元、24.31亿元。

行业主力资金净流入额.png

个股来看,今日有1480只个股获主力资金净流入,其中,46股获主力资金净流入超1亿元。亿纬锂能获主力资金净流入最多,净流入金额为7.63亿元;主力资金净流入居前的个股还有九安医疗招商银行药明康德云南白药中环股份,净流入金额分别为6.04亿元、4.64亿元、4.24亿元、4.06亿元、3.55亿元。

个股主力资金净流入排名.png

此外,3117只个股被主力资金净卖出,其中,105股被主力资金净卖出超1亿元。主力资金净流出最多的个股是比亚迪,净流出金额为9.52亿元;主力资金净流出居前的个股还有隆基股份美锦能源、京东方A、长信科技三峡能源,净流出金额分别为7.47亿元、6.66亿元、5.86亿元、5.1亿元、4.64亿元。

个股主力资金净流出排名.png

2.北向资金

北向资金今日成交额为1156.53亿元,成交净卖出40.26亿元。其中,沪股通净卖出9.32亿元,深股通净卖出30.94亿元。

活跃个股方面,比亚迪药明康德国电南瑞北方华创恩捷股份北向资金净买入较多,净买入金额分别为4.76亿元、2.88亿元、2.79亿元、2.14亿元、2.01亿元。宁德时代爱尔眼科伊利股份亿纬锂能贵州茅台北向资金净卖出较多,净卖出金额分别为6.97亿元、5.97亿元、5.09亿元、5.06亿元、3.44亿元。

北向资金活跃个股交易情况.png

3.龙虎榜机构资金动向

盘后龙虎榜数据显示,今日机构席位资金合计净卖出约3209.71万元。其中,净买入的个股15只,净卖出的个股16只。机构净买入最多的股票是浙文互联,净买入金额约1.17亿元;机构净买入居前的还有柳药股份因赛集团九安医疗奥泰生物精华制药等股。机构净卖出最多的股票是安旭生物,净卖出金额约1.47亿元。机构净卖出靠前的还有恒润股份东阿阿胶韩建河山等股。

龙虎榜机构净买入的个股.png

涨跌停个股

截至收盘,沪深两市合计1688只个股上涨,2752只个股下跌,平盘个股160只,停牌的个股10只。不含当日上市新股,共有71只个股涨停,14只个股跌停。连续涨停天数看,开开实业ST熊猫汇通集团均已连收7个涨停板,连续涨停板数量最多。

涨停股中,从收盘涨停板封单量来看,汇通集团最受追捧,收盘涨停板封单有8859.94万股;其次是亚太药业高乐股份等,涨停板封单分别有3014.39万股、2335.67万股。以封单金额计算,汇通集团九安医疗亚太药业等涨停板封单资金较多,分别有3.86亿元、3.37亿元、2.11亿元。

个股涨跌分布.png

从行业板块方面看,行业板块跌多涨少,其中,银行、医药生物、纺织服装等行业板块涨幅靠前;国防军工、农业、电子、传媒、家电、计算机、汽车、食品饮料等行业板块跌幅居前。涨停个股主要集中在医药生物、纺织服装、传媒、汽车、建筑装饰等行业。

部分连续涨停个股.png

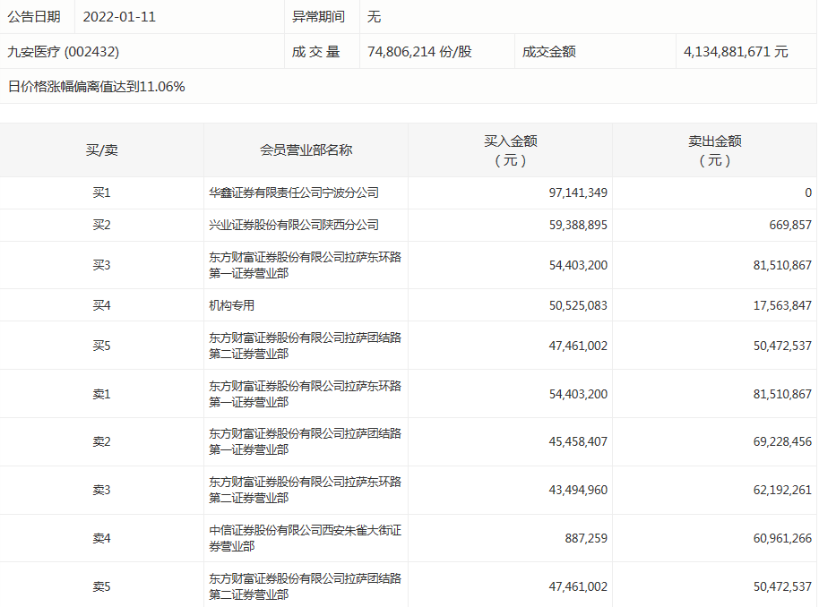
九安医疗今天涨停。盘后数据显示,1个机构出现在龙虎榜单上,净买入3296.12万元;兴业证券股份有限公司陕西分公司买入5938.89万元,同时卖出66.99万元;中信证券股份有限公司西安朱雀大街证券营业部买入88.73万元,同时卖出6096.13万元。

九安医疗.png

责任编辑: 阙福生
声明:证券时报力求信息真实、准确,文章提及内容仅供参考,不构成实质性投资建议,据此操作风险自担
下载“证券时报”官方APP,或关注官方微信公众号,即可随时了解股市动态,洞察政策信息,把握财富机会。
网友评论
登录后可以发言
发送
网友评论仅供其表达个人看法,并不表明证券时报立场
暂无评论
为你推荐
时报热榜
换一换
    热点视频
    换一换