赵薇,500万元股权被冻结!
来源:证券时报网作者:聂英好2024-04-16 15:51

4月16日,赵薇名下股权再被冻结。

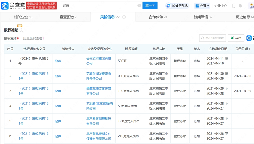
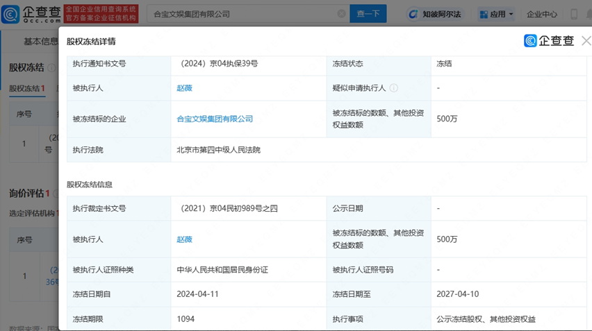
企查查APP显示,近日,赵薇名下部分所持股权被冻结,冻结股权标的企业为合宝文娱集团有限公司,被冻结股权金额为500万元人民币,冻结期限至2027年4月10日。此前,该标的企业已有过冻结信息。

企查查显示,赵薇当前担任3家公司法定代表人,其中仅赵赵(上海)影视文化工作室一家存续,其余两家已吊销、注销。

企查查信息显示,此前赵薇对外投资达13家,间接对外投资50家,版图涉及影视公司、房地产开发公司、餐饮公司等。当前,赵薇名下存在多条股权冻结,冻结股权标的企业涉及芜湖东润发投资有限责任公司、西藏龙薇文化传媒有限公司等,合计金额超千万。

近年来,赵薇投资版图持续缩水。目前,赵薇已经从上海云锋新创股权投资中心(有限合伙)等4家企业退股,其余担任股东的公司中,也有部分公司已被注销或吊销。由赵薇担任公司法人的三家公司中,目前仅赵赵(上海)影视文化工作室仍处于存续期,其余两家也已被注销或吊销。

从资本市场版图来看,2018年,赵薇曾因万家文化事件受到证监会处罚。2018年4月16日,证监会对万家文化(现已更名为“祥源文化”)、龙薇传媒责令改正,给予警告,并分别处以60万元罚款;对孔德永、黄有龙、赵薇、赵政给予警告,并分别处以30万元罚款,对黄有龙、赵薇、孔德永分别采取5年证券市场禁入措施,黄有龙即为赵薇的丈夫。

此外在影视作品方面,截至2021年8月27日下午6点,赵薇所有的影视剧、综艺作品都已经下架。

校对:王锦程

责任编辑: 陈丽湘
声明:证券时报力求信息真实、准确,文章提及内容仅供参考,不构成实质性投资建议,据此操作风险自担
下载“证券时报”官方APP,或关注官方微信公众号,即可随时了解股市动态,洞察政策信息,把握财富机会。
网友评论
登录后可以发言
发送
网友评论仅供其表达个人看法,并不表明证券时报立场
暂无评论
为你推荐
时报热榜
换一换
    热点视频
    换一换