证券时报官方微信公众号

扫描上方二维码关注微信公众号

证券时报官方新闻客户端

扫描上方二维码下载客户端

首页 > 股市 > 独家解读
您所在的位置:首页>股市>独家解读

数据复盘|龙虎榜机构抢筹金风科技 北向资金青睐五粮液等

2021-03-26 18:27 来源: 证券时报网 作者: 阙福生
证券时报网 阙福生 2021-03-26 18:27

3月26日收盘,上证指数报3418.33点,涨1.63%,成交额3224.09亿元;深证成指报13769.68点,涨2.6%,成交额4255.54亿元;创业板指报2745.40点,涨3.37%,成交额1492.97亿元;科创50指数报1256.66点,涨3.03%,成交额184亿元。两市合计成交7479.63亿元。

资金流向

1.主力资金

市场主力资金恢复净流入。Wind统计显示,沪深两市主力资金今日净流入186.62亿元。其中,中小企业板主力资金净流入45.68亿元,创业板主力资金净流入39.3亿元,沪深300成分股主力资金净流入131.19亿元。

从行业板块来看,申万所属的28个一级行业,有17个行业板块主力资金呈现净流入,其中,医药生物行业板块主力资金净流入最多,净流入金额为37.05亿元;行业板块主力资金净流入居前的还有电气设备、电子、食品饮料、有色金属、机械设备,净流入金额分别为36.63亿元、31.77亿元、30.74亿元、27.94亿元、21.67亿元。11个行业板块主力资金呈现净流出,其中,农林牧渔行业板块主力资金净流出最多,净流出金额为8.65亿元;行业板块主力资金净流出靠前的还有传媒、计算机、银行、采掘,净流出金额分别为6.49亿元、6.44亿元、4.16亿元、3.96亿元。

行业主力资金净流入额.png

具体到个股来看,78股主力资金净流入超亿元。其中,格林美、京东方A、东方财富宁德时代立讯精密主力资金净流入居前,净流入金额分别为14.39亿元、13.26亿元、10.75亿元、7.89亿元、6.97亿元。

个股主力资金净流入排名.png

此外,26股被主力资金净卖出超亿元。其中,南网能源岳阳林纸招商银行牧原股份光大证券主力资金净流出较多,净流出金额分别为4.63亿元、3.91亿元、3.77亿元、2.81亿元、2.45亿元。

个股主力资金净流出排名.png

2.北向资金

据wind统计,北向资金本周累计成交4912.46亿元,成交净买入141.64亿元。其中,沪股通合计净买入84.6亿元,深股通合计净买入57.04亿元。

从单日看,本周4个交易日呈现净买入,1个交易日呈现净卖出。今日北向资金全天成交额1060.94亿元,成交净买入64.3亿元,连续3个交易日净买入。其中,沪股通合计净买入16.53亿元,深股通合计净买入47.77亿元。

北向资金本周各交易日成交情况.png

活跃个股方面,五粮液、京东方A、招商银行宁德时代通威股份北向资金净买入较多,净买入金额分别为7.82亿元、5.74亿元、5.33亿元、4.5亿元、3.51亿元;贵州茅台隆基股份紫金矿业阳光电源格力电器北向资金净卖出较多,净卖出金额分别为5.43亿元、2.54亿元、2.07亿元、1.48亿元、1.2亿元。

北向资金活跃个股交易情况.png

3.龙虎榜机构资金动向

盘后龙虎榜数据显示,机构席位资金合计净买入约2.43亿元。其中,净买入的个股17只,净卖出的个股9只。机构净买入最多的股票是金风科技,净买入金额约1.38亿元;机构净买入居前的还有冠中生态创识科技国际医学等股。机构净卖出最多的股票是南网能源,净卖出金额约8157.38万元。

龙虎榜机构资金净买入个股.png

涨跌停个股

截至收盘,沪深两市合计3180只个股上涨,838只个股下跌,平盘个股192只,停牌的个股16只。包括ST股在内,共有94只个股涨停,9只个股跌停。

个股涨跌分布.png

从行业板块方面看,今天所有行业板块都上涨,其中,电气设备、电力、有色金属、医药生物、纺织服装、酿酒、园林工程等行业板块涨幅靠前。涨停个股主要集中在公用事业、纺织服装、医药生物、电气设备、机械设备等行业。

部分连续涨停个股.png

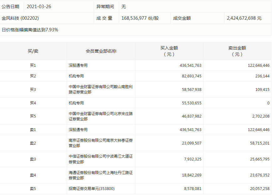
金风科技今天涨停。盘后数据显示,2个机构出现在龙虎榜单上,合计净买入1.38亿元;中国中金财富证券有限公司鞍山南胜利路证券营业部买入5856.79万元,同时卖出10.94万元;南京证券股份有限公司南京大钟亭证券营业部买入2309.95万元,同时卖出5871.52万元。

金风科技.png

声明:证券时报力求信息真实、准确,文章提及内容仅供参考,不构成实质性投资建议,据此操作风险自担。

为你推荐

国庆长假露营又“翻红”?这些问题也逐渐显现
实际上,在今年国庆节日期间,本地游仍是假期出行主流方式的背景下,露营市场热度延续成为共识,从OTA平台的数据和销量也能印证这种趋势。
2022-09-3013:02
破净股集中在传统行业,12股市盈率低基本面优
目前破净股滚动市盈率在20倍以下的共有246只,估值较低的有振东制药、海航科技、ST广珠等,滚动市盈率均在3倍左右。
2022-09-3012:59
特斯拉否认大幅降价传闻,新能车板块依然被重挫
在特斯拉暴跌带动下,中概股新能源车板块全线暴跌。小鹏汽车盘中一度大跌超11%,股价再创历史新低;蔚来盘中亦重挫超11%,股价创4个月来新低;理想汽车一度跌逾8%。
2022-09-3012:48
自动驾驶大规模商用在即,A股高增长潜力股出炉
9月以来自动驾驶概念股整体表现低迷。截至9月29日,概念股平均跌幅达到7%,跑输同期上证指数。数源科技、东田微、通宇通讯、联合光电、华锋股份等跌幅超过20%。
2022-09-3007:53
点击排行
  • 证券时报APP
  • 微信公众号
  • 点击下载